授权公布号:CN219192264U
一种薄膜加工用圆辊输送装置
有效
申请
2022-06-13
申请公布
1970-01-01
授权
2023-06-16
预估到期
2032-06-13
| 申请号 | CN202221465326.8 |
| 申请日 | 2022-06-13 |
| 授权公布号 | CN219192264U |
| 授权公告日 | 2023-06-16 |
| 分类号 | B62B3/04 |
| 分类 | 无轨陆用车辆; |
| 申请人名称 | 安徽省通达新材料有限公司 |
| 申请人地址 | 安徽省合肥市瑶海区龙岗综合经济开发区通达路 |
专利法律状态
2023-06-16
授权
状态信息
授权
摘要
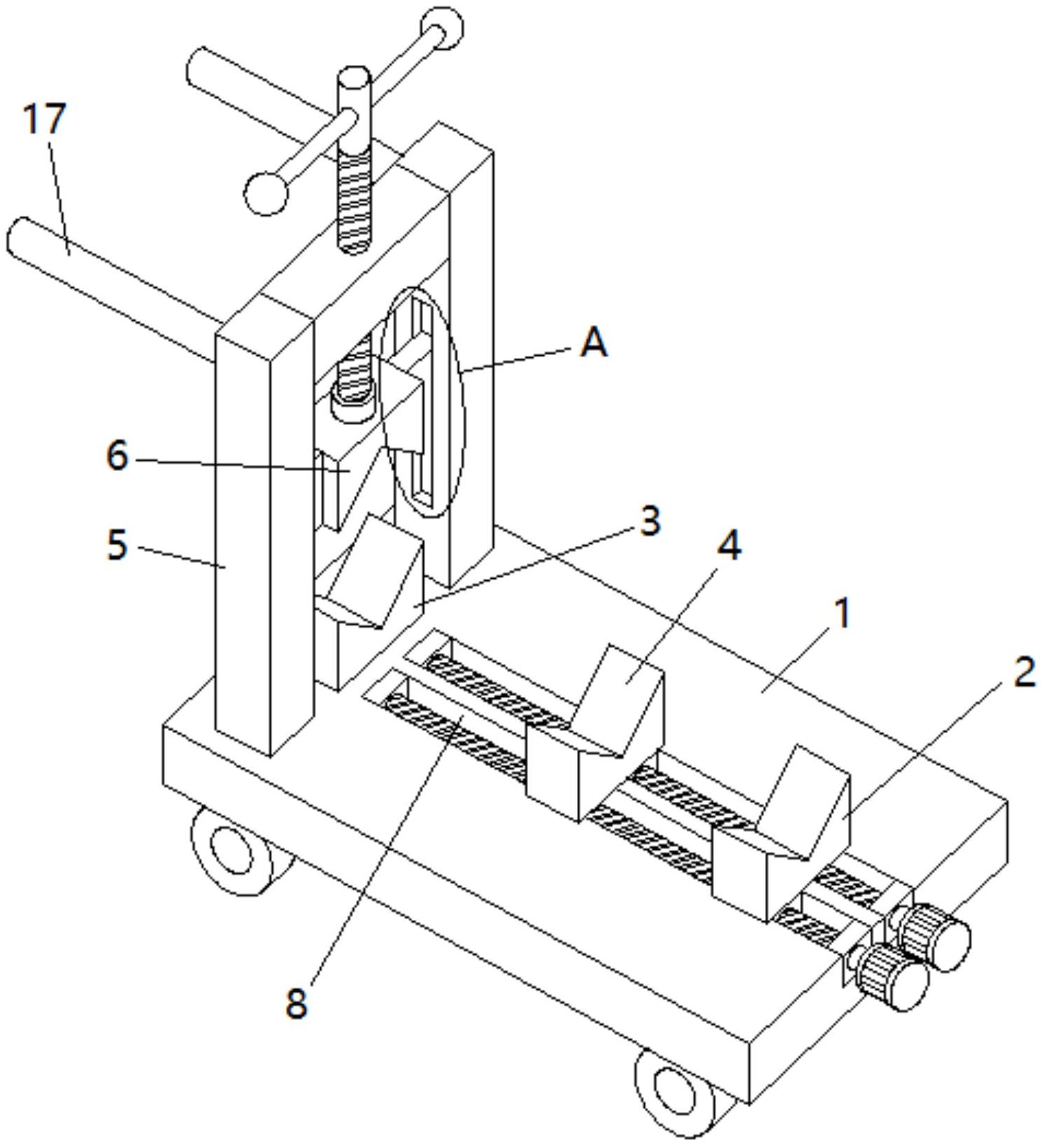
本实用新型公开了一种薄膜加工用圆辊输送装置,包括有平板车,平板车上自前而后依次设有同中心线的二个活动支撑块和固定支撑块,二个活动支撑块和固定支撑块的顶端均设有V形槽,二个活动支撑块相对固定支撑块的距离可调;平板车的后侧固定有冂形支架,冂形支架的两侧立柱分别对应位于固定支撑块两侧,冂形支架的两侧立柱之间安装有压块,压块的底端设有倒V形槽,压块相对固定支撑块的距离可调。本实用新型能够为圆辊提供三点支撑,其中两个支撑点的位置可进行调节,能够对圆辊的一端实施压紧,将其固定于平板车上且不会掉落,无需通过增长平板车来适应较长的圆辊,不会造成操作不便,并能够满足对一系列不同直径的圆辊进行支撑和压紧的需要。


