授权公布号:CN217307240U
一种肘型电缆接头
有效
申请
2021-12-13
申请公布
1970-01-01
授权
2022-08-26
预估到期
2031-12-13
| 申请号 | CN202123125434.9 |
| 申请日 | 2021-12-13 |
| 授权公布号 | CN217307240U |
| 授权公告日 | 2022-08-26 |
| 分类号 | H02G15/18 |
| 分类 | 发电、变电或配电; |
| 申请人名称 | 中能电气股份有限公司 |
| 申请人地址 | 福建省福州市仓山区金山工业区金洲北路 |
专利法律状态
2022-08-26
授权
状态信息
授权
摘要
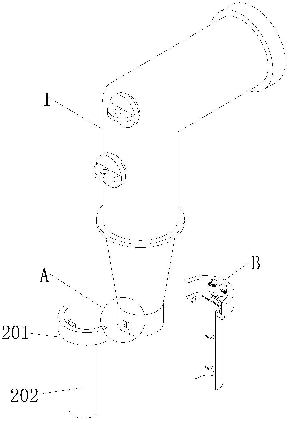
本实用新型涉及一种肘型电缆接头,包括肘形电缆接头和电缆连接机构;所述电缆连接机构设置在所述肘形电缆接头的底部;所述电缆连接机构包括连接块、连接板、固定块、连接弹簧和限位块;所述连接块设置在所述肘形电缆接头的底部;所述连接板设置在所述连接块的下方;通过设置电缆连接机构,需将固定块与限位块插接到肘形电缆接头的内部,将连接块固定在肘形电缆接头的两侧即可,从而将连接板安装固定在肘形电缆接头的底部,最后利用连接块将肘形电缆接头端处的电缆夹住即可,从而该接头能够防止端处的电缆弯折,进而提高电缆的使用寿命。


