授权公布号:CN209592628U
一种触头盒
有效
申请
2019-03-26
申请公布
1970-01-01
授权
2019-11-05
预估到期
2029-03-26
| 申请号 | CN201920389142.X |
| 申请日 | 2019-03-26 |
| 授权公布号 | CN209592628U |
| 授权公告日 | 2019-11-05 |
| 分类号 | H02B1/14;H02B1/16;G01K1/02 |
| 分类 | 发电、变电或配电; |
| 申请人名称 | 中能电气股份有限公司 |
| 申请人地址 | 福建省福州市仓山区金山工业区金洲北路 |
专利法律状态
2019-11-05
授权
状态信息
授权
摘要
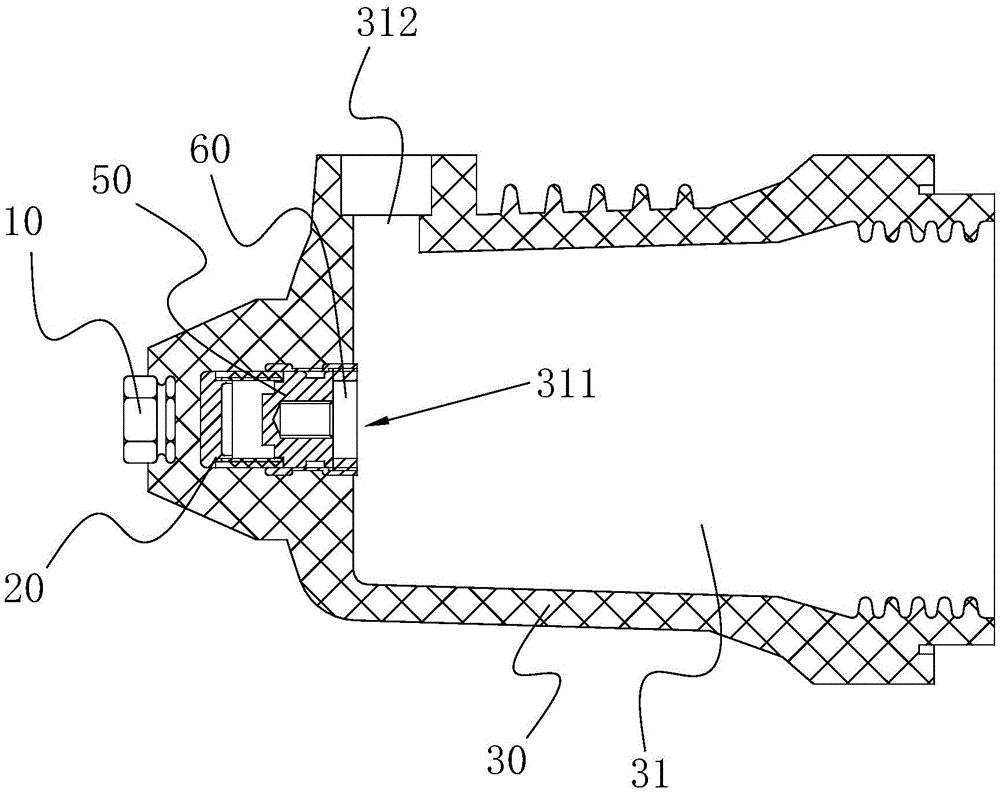
本实用新型提供一种触头盒,包括接地金属嵌件、支撑组件、固体绝缘体和检测模块,固体绝缘件的一端面上开设有触臂空腔,触臂空腔的底面设置有放置槽。接地金属嵌件用于与接地线连接,提高触头盒的安全性。在触头盒预留放置槽的安装空间,可以加装合适的检测模块,特别是温度检测模块,提高其适应性。同时,通过固体绝缘体可以进行绝缘防护、电气连接,也可用于需要监测各类数据的开关柜内部的电气连接点处,满足检测模块与被测导体的安装部位直接接触,提高检测的精确度。在不改变电力设备的绝缘结构的前提下,触头盒具有结构简单、成本低、应用灵活、安全可靠、兼容性好等优点。


