授权公布号:CN106044347B
全自动切割封口和卷捆薄膜袋一体式设备
有效
申请
2016-08-23
申请公布
2016-10-26
授权
2018-01-19
预估到期
2036-08-23
| 申请号 | CN201610704750.6 |
| 申请日 | 2016-08-23 |
| 申请公布号 | CN106044347A |
| 申请公布日 | 2016-10-26 |
| 授权公布号 | CN106044347B |
| 授权公告日 | 2018-01-19 |
| 分类号 | B65H35/06;B65H18/08;B65H19/30 |
| 分类 | 输送;包装;贮存;搬运薄的或细丝状材料; |
| 申请人名称 | 厦门新旺新材料科技有限公司 |
| 申请人地址 | 福建省厦门市集美区后溪镇白虎岩路55号4-5F |
专利法律状态
2018-01-19
授权
状态信息
授权
2016-11-23
实质审查的生效
状态信息
实质审查的生效IPC(主分类):B65H 35/06申请日:20160823
2016-10-26
公布
状态信息
公开
摘要
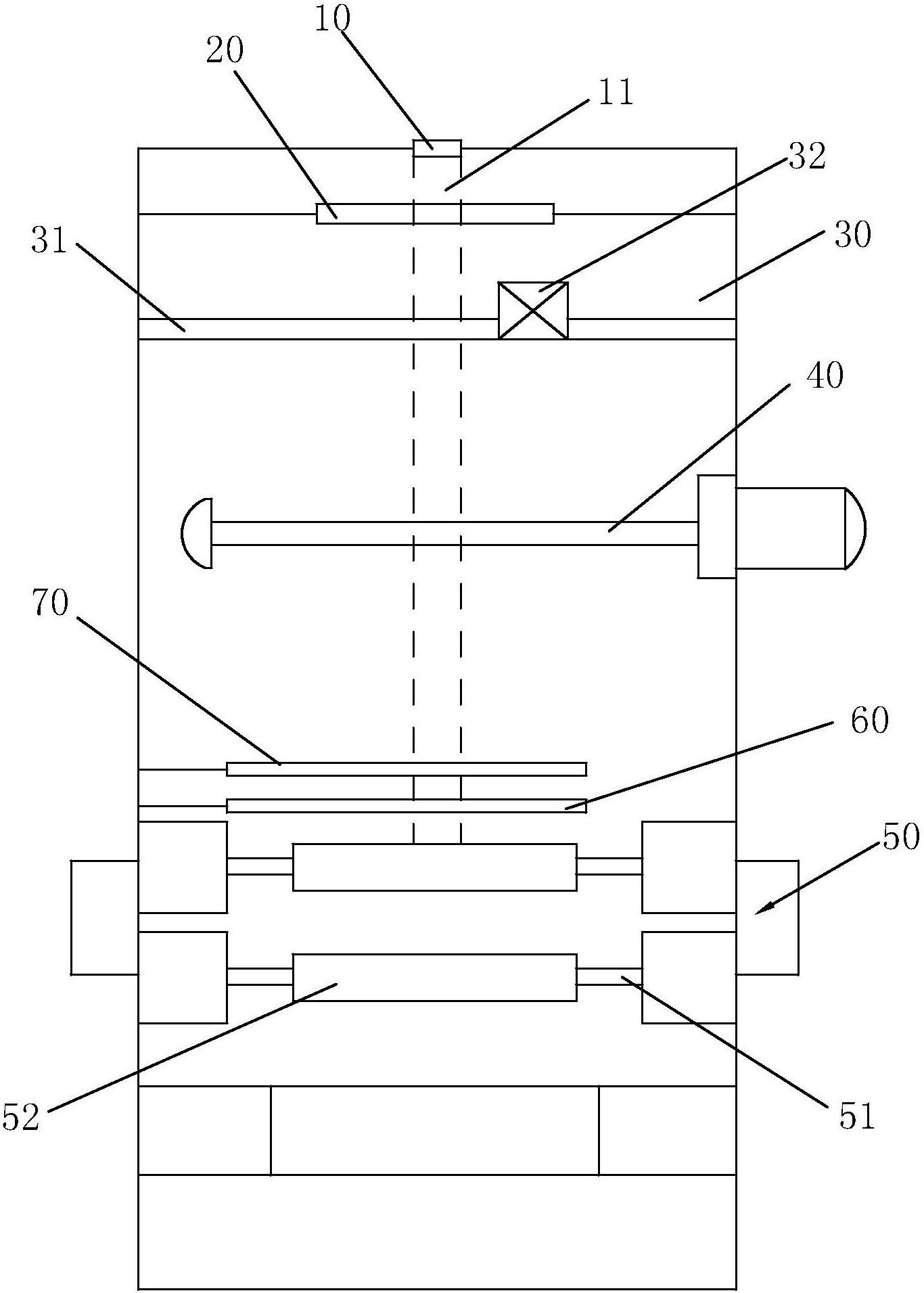
本发明涉及薄膜技术领域,特别是一种全自动切割封口和卷捆薄膜袋一体式设备,与现有技术相比,该全自动切割封口和卷捆薄膜袋一体式设备包括套袋滚筒、引导辊、切割焊接装置、摆动引导装置、自动卷捆装置和压膜棍以及切刀,压膜棍和切刀与自动卷捆装置配合使用,其采用全自动化设计,从焊接、打点断线、摆动引导、自动切换卷捆再到自动下料都是在同一个设备上完成,并且各程序紧密衔接在一起,具有自动化程序高、生产效率高、制造成本低和故障率低等优点,而且采用宽体式的卷纸捆进行螺纹式的卷捆,大大的提高了卷捆的容量,而且彻底解决了脱卷等问题。


