授权公布号:CN111064472B
功图数据压缩、解压缩方法、装置与计算机可读存储介质
有效
申请
2020-01-15
申请公布
2020-04-24
授权
2023-09-29
预估到期
2040-01-15
| 申请号 | CN202010043471.6 |
| 申请日 | 2020-01-15 |
| 申请公布号 | CN111064472A |
| 申请公布日 | 2020-04-24 |
| 授权公布号 | CN111064472B |
| 授权公告日 | 2023-09-29 |
| 分类号 | H03M7/30 |
| 分类 | 基本电子电路; |
| 申请人名称 | 洛阳乾禾仪器有限公司 |
| 申请人地址 | 河南省洛阳市高新开发区延光路火炬园A座411室 |
专利法律状态
2023-09-29
授权
状态信息
授权
2020-06-16
实质审查的生效
状态信息
实质审查的生效;IPC(主分类):H03M7/30;申请日:20200115
2020-04-24
公布
状态信息
公布
摘要
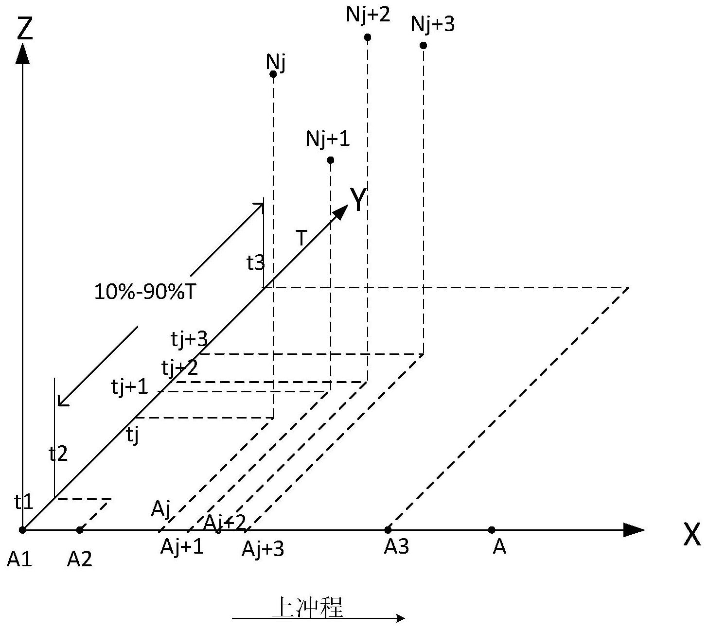
本发明涉及油气生产数据处理领域,特别是一种功图数据压缩、解压缩方法、装置与计算机可读存储介质。压缩方法将上/下冲程的至少部分功图数据,按照等位移间隔进行重采样,得到重采样点,记录每个重采样点的载荷数据,而不记录每个重采样点的位移数据,从而实现对功图数据的压缩。本发明的有益效果包括:对原本等时间间隔采样的数据进行了重采样,转换为等位移间隔的载荷数据,由于位移数据是可解算的,从而不需要表达位移数据,因此大大减少了压缩后的数据量。对功图数据进行压缩,会减小现场系统的数据传输压力,提高传输效率,更好的保障传输系统的稳定运行。


