授权公布号:CN210367867U
热处理系统
有效
申请
2019-07-31
申请公布
1970-01-01
授权
2020-04-21
预估到期
2029-07-31
| 申请号 | CN201921228142.8 |
| 申请日 | 2019-07-31 |
| 授权公布号 | CN210367867U |
| 授权公告日 | 2020-04-21 |
| 分类号 | C22F1/04 |
| 分类 | 冶金;黑色或有色金属合金;合金或有色金属的处理; |
| 申请人名称 | 河南科丰新材料有限公司 |
| 申请人地址 | 河南省郑州市郑州高新开发区合欢街91号 |
专利法律状态
2020-04-21
授权
状态信息
授权
摘要
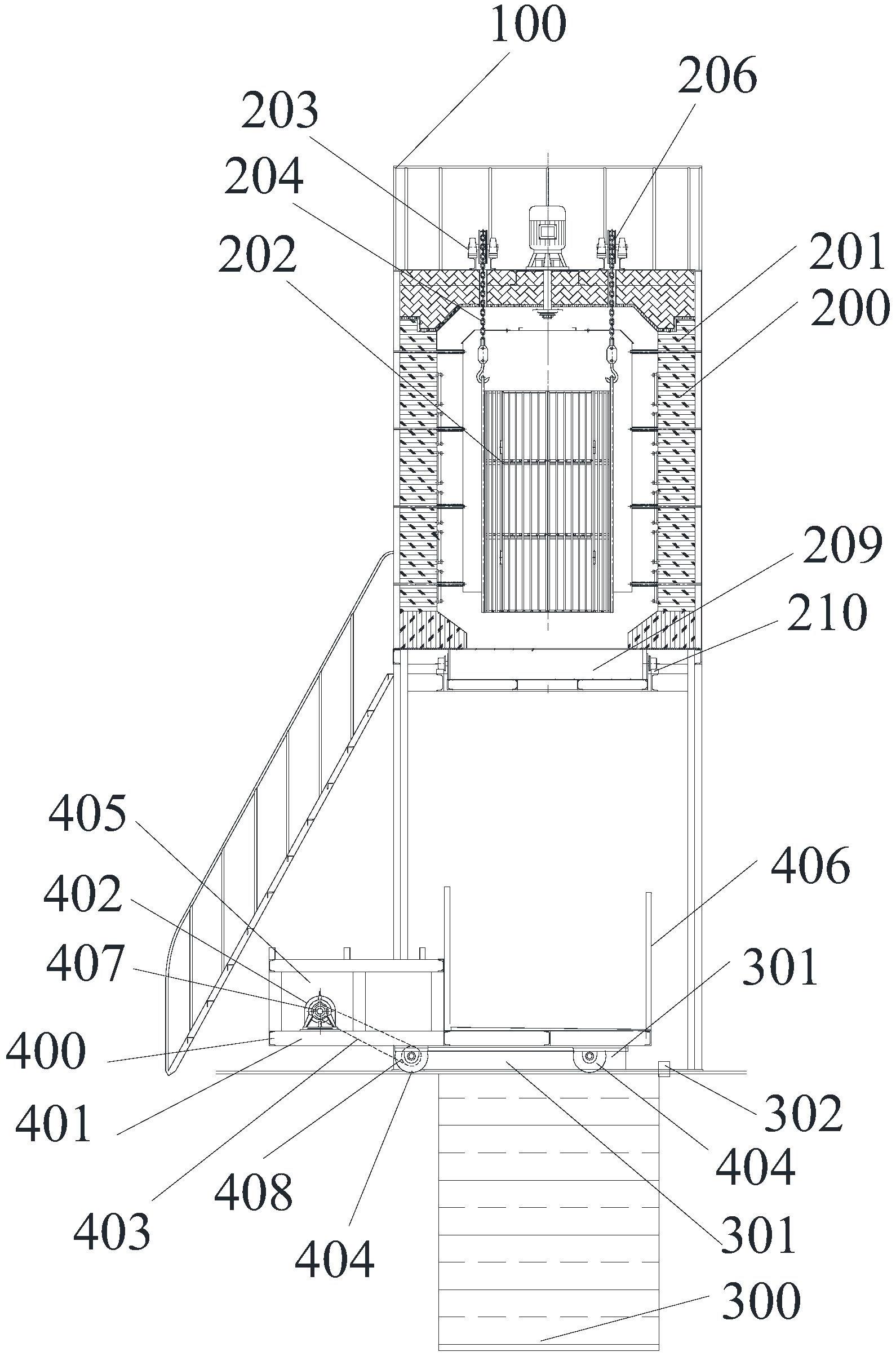
本实用新型公开了一种热处理系统;包括支架、固溶炉设备,设置在固溶炉设备底部的冷却水池;且位于所述冷却水池上还设置有水平输料台车装置;所述固溶炉设备包括炉体和料框、料框升降机构;所述料框升降机构包括驱动绳和卷扬驱动电机和多个支撑轮;所述水平输料台车装置包括台车本体,小车驱动电机、链条和设置在所述台车本体的底部的车轮,且所述台车本体的一端处设置有设备舱,所述台车本体的另一端设置有用于装载工件的载台面;所述设备舱用于储放所述小车驱动电机;上述热处理系统,克服了驱动装置安装设置缺陷以及沉重工件承接运送困难,运送实施难度较大等技术难题。


