授权公布号:CN212685608U
一种方便原地旋转的小型推车
有效
申请
2020-06-10
申请公布
1970-01-01
授权
2021-03-12
预估到期
2030-06-10
| 申请号 | CN202021055326.1 |
| 申请日 | 2020-06-10 |
| 授权公布号 | CN212685608U |
| 授权公告日 | 2021-03-12 |
| 分类号 | B62B3/02;B62B5/06;B62B5/00;F16F15/067 |
| 分类 | 无轨陆用车辆; |
| 申请人名称 | 河南科丰新材料有限公司 |
| 申请人地址 | 河南省郑州市中原区高新开发区合欢街91号 |
专利法律状态
2021-03-12
授权
状态信息
授权
摘要
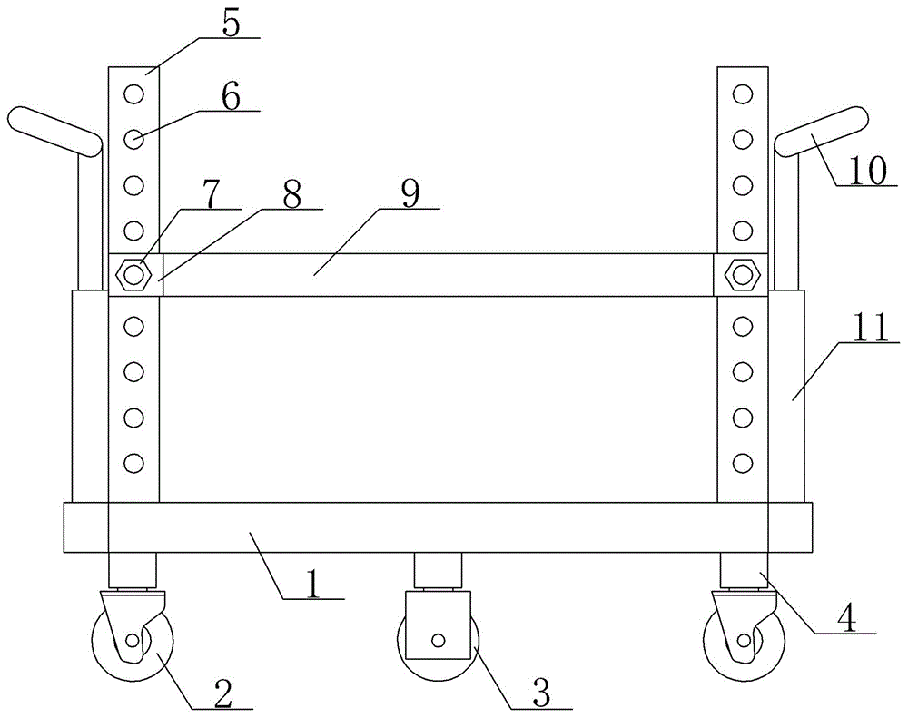
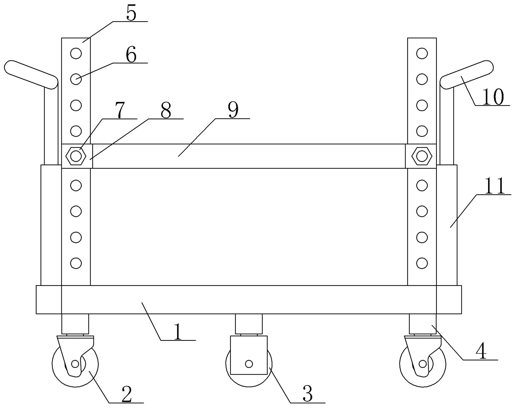
本实用新型涉及一种方便原地旋转的小型推车,包括底板,其下表面的前端中部和后端中部均设有一万向轮,其下表面的中段两侧对称设有一对定向轮,万向轮和定向轮均通过减震机构与底板固定连接,底板上表面四角处均竖向设有支撑柱,支撑柱上沿其长度方向间隔分布有多个安装通孔,底板上方水平设有隔板,隔板对应各支撑柱的位置处均固设有连接件,连接件套设在相应支撑柱上并通过螺栓组件与相应支撑柱上的安装通孔可拆卸连接,支撑柱远离隔板的一侧竖向固设有电动推杆,位于底板同一端上的两电动推杆的自由端之间连接有手柄。本实用新型可实现推车的原地360度旋转,隔板拆装方便、高度可调,手柄高度可调,可大大提高推车的使用灵活性和便捷性。


