授权公布号:CN210791261U
一种薄膜生产用薄膜分切机
有效
申请
2019-09-04
申请公布
1970-01-01
授权
2020-06-19
预估到期
2029-09-04
| 申请号 | CN201921462798.6 |
| 申请日 | 2019-09-04 |
| 授权公布号 | CN210791261U |
| 授权公告日 | 2020-06-19 |
| 分类号 | B26D7/26 |
| 分类 | 手动切割工具;切割;切断; |
| 申请人名称 | 富维薄膜(山东)有限公司 |
| 申请人地址 | 山东省潍坊市高新开发区东明路以东、卧龙东街以南 |
专利法律状态
2020-06-19
授权
状态信息
授权
摘要
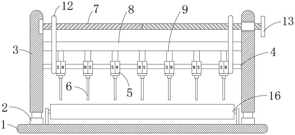
本实用新型公开了一种薄膜生产用薄膜分切机,包括底板,所述底板上对称设置有两个伸缩杆,每个所述伸缩杆的伸缩端均连接有安装板,两块所述安装板之间分别固定安装有光杆和固定板,所述光杆上通过导向机构均匀滑动连接有多个永磁套,且相邻的两个永磁套之间同极相斥,每个所述永磁套与固定板之间均设置有限位机构,每个所述永磁套的下端均通过刀座连接有切刀,所述光杆与安装板之间设置有传动机构。本实用新型通过传动机构、导向机构与限位机构的配合,可以快速的完成多个切刀在光杆上的均匀排列,从而提高了此装置的适用性,且操作简单,效率高。


