授权公布号:CN220587033U
一种双色农用地膜
有效
申请
2023-08-22
申请公布
1970-01-01
授权
2024-03-15
预估到期
2033-08-22
| 申请号 | CN202322254994.7 |
| 申请日 | 2023-08-22 |
| 授权公布号 | CN220587033U |
| 授权公告日 | 2024-03-15 |
| 分类号 | A01G13/02 |
| 分类 | 农业;林业;畜牧业;狩猎;诱捕;捕鱼; |
| 申请人名称 | 济南新三塑业有限公司 |
| 申请人地址 | 山东省济南市历城区董家镇曹家民营工业园兴桥路3号 |
专利法律状态
2024-03-15
授权
状态信息
授权
摘要
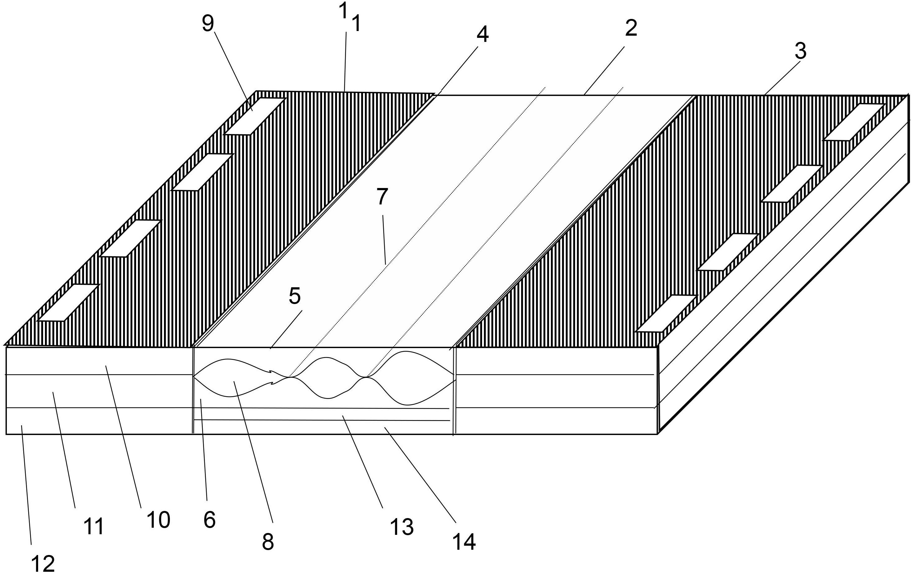
本实用新型提供了一种双色农用地膜,包括左侧地膜、中间地膜和右侧地膜,所述左侧底地膜与中间地膜之间及所述中间地膜与右侧地膜之间均设有密封热压线,所述左侧地膜和右侧地膜为黑色,所述中间地膜为透明薄膜。本实用新型通过填土或固定孔方式固定,双色地膜一方面可抑制杂草生长,一方面可促进根系生长,提高低温,减少灰霉病发生且材料可降解,安全实用。


