授权公布号:CN107276263B
电机枢轴防窜动安装结构及雨刮电机
有效
申请
2017-07-14
申请公布
2017-10-20
授权
2023-06-13
预估到期
2037-07-14
| 申请号 | CN201710575461.5 |
| 申请日 | 2017-07-14 |
| 申请公布号 | CN107276263A |
| 申请公布日 | 2017-10-20 |
| 授权公布号 | CN107276263B |
| 授权公告日 | 2023-06-13 |
| 分类号 | H02K1/17;H02K5/173;H02K5/14 |
| 分类 | 发电、变电或配电; |
| 申请人名称 | 成都华川电装有限责任公司 |
| 申请人地址 | 四川省成都市龙泉驿区十陵镇成都华川电装有限责任公司 |
专利法律状态
2023-06-13
授权
状态信息
授权
2017-11-14
实质审查的生效
状态信息
实质审查的生效;IPC(主分类):H02K1/17;申请日:20170714
2017-10-20
公布
状态信息
公布
摘要
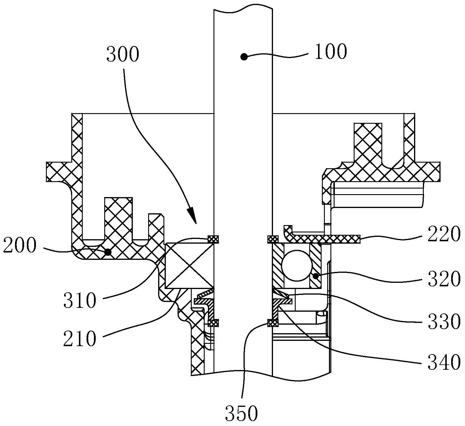
本发明属于电机设备领域,具体公开了一种利于减小电机内部能耗,并可使得电机性能更加可靠的电机枢轴防窜动安装结构及雨刮电机。该电机枢轴防窜动安装结构,包括电枢轴和电机端盖,电枢轴上设置有连接组件,电枢轴通过连接组件可转动地设置在电机端盖上;连接组件包括依次设置在电枢轴上的第一环扣、滚动轴承、弹性元件、套件和第二环扣,弹性元件处于压缩状态并将滚动轴承在电枢轴的轴向上预张紧。滚动轴承是设置在电枢轴上的,处于预张紧状态的滚动轴承能够有效防止电枢轴窜动,保证了电机使用的可靠性;而且,弹性元件对于滚动轴承的张紧弹力基本不变,使用过程中电机内部电流基本保持一致,利于减小电机内部能耗。


