授权公布号:CN213367580U
一种带轻触开关的直线步进电机
有效
申请
2020-08-04
申请公布
1970-01-01
授权
2021-06-04
预估到期
2030-08-04
| 申请号 | CN202021592508.2 |
| 申请日 | 2020-08-04 |
| 授权公布号 | CN213367580U |
| 授权公告日 | 2021-06-04 |
| 分类号 | H02K11/20;H02K11/30;H02K41/03 |
| 分类 | 发电、变电或配电; |
| 申请人名称 | 常州宝来电器有限公司 |
| 申请人地址 | 江苏省常州市武进区湖塘镇湖塘科技产业园B3栋 |
专利法律状态
2021-06-04
授权
状态信息
授权
摘要
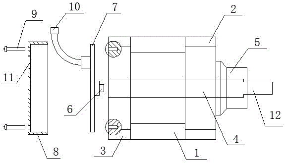
本实用新型涉及步进电机技术领域,尤其是一种带轻触开关的直线步进电机,包括电机主体、前端盖、后端盖和丝杠,丝杠穿设在电机主体中,电机主体一端设置有前端盖,电机主体另一端设置有后端盖,前端盖外侧面设置有用于丝杠前端限位的止转壳,后端盖外侧面设置有用于丝杠后端限位的轻触开关,止转壳中心、轻触开关中心和丝杠中心在同一轴线上,通过设置在后端盖处的轻触开关和电路板的配合,对收回的丝杠进行限位;通过设置在前端盖处的止转壳和扁丝,对伸出的丝杠进行限位,有效防止丝杆脱离电机,保证电机的正常使用。


