授权公布号:CN209496789U
一种带氢气的继电器
有效
申请
2019-04-08
申请公布
1970-01-01
授权
2019-10-15
预估到期
2029-04-08
| 申请号 | CN201920465621.5 |
| 申请日 | 2019-04-08 |
| 授权公布号 | CN209496789U |
| 授权公告日 | 2019-10-15 |
| 分类号 | H01H50/02;H01H50/14;H01H49/00;H01H33/64 |
| 分类 | 基本电气元件; |
| 申请人名称 | 浙江泰华电器有限公司 |
| 申请人地址 | 浙江省温州市乐清市柳市镇东风工业区凯旋路30号 |
专利法律状态
2019-10-15
授权
状态信息
授权
摘要
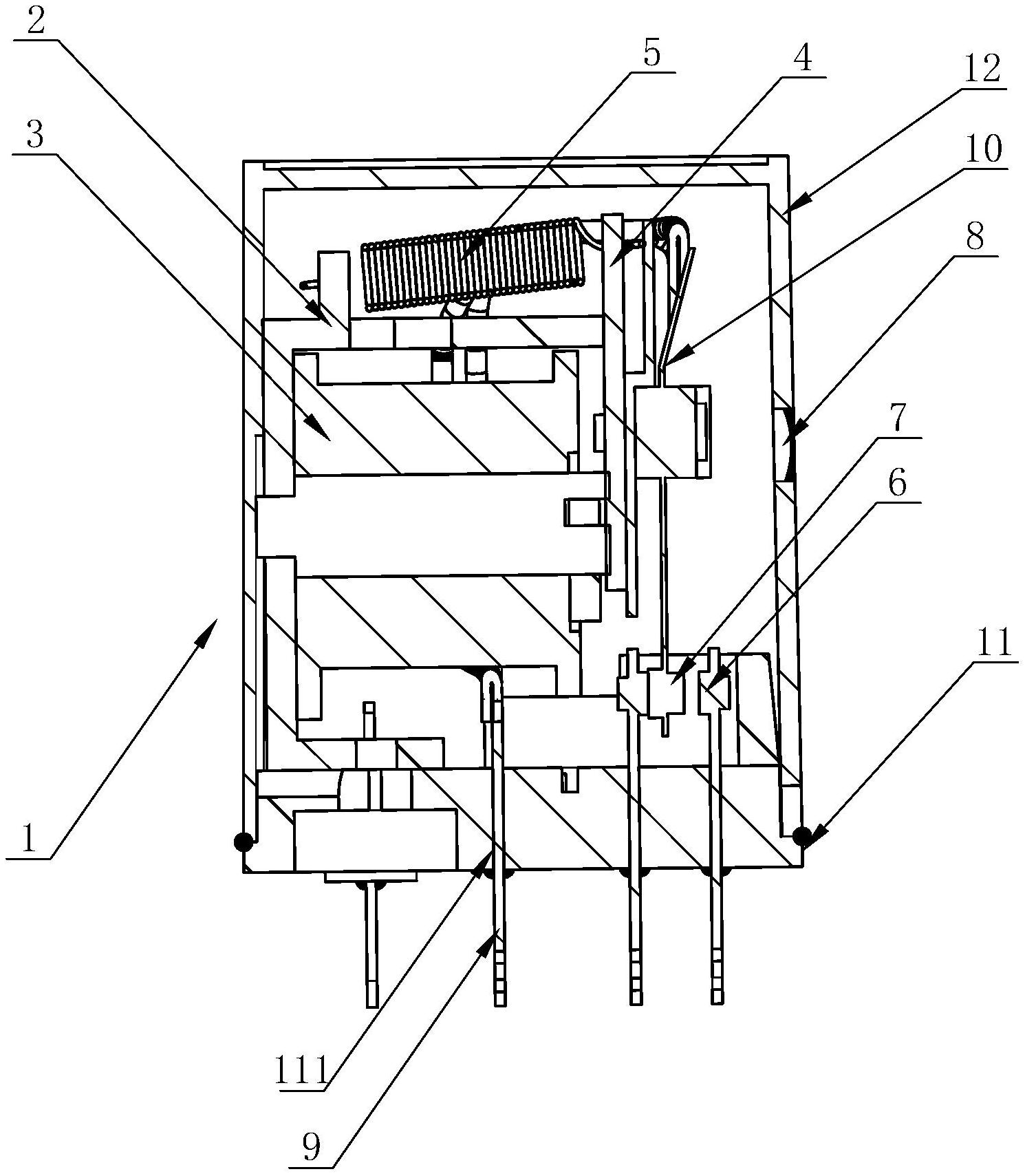
本实用新型涉及一种带氢气的继电器,继电器包括有外壳,外壳内设有轭铁、电磁铁、衔铁以及复位衔铁的复位弹簧,电磁铁安装在轭铁上,外壳内还设有静触头,衔铁上连接有动触头,动触头与静触头对应设置,外壳上设有气孔,外壳内填充有氢气,外壳上对应气孔位置设有封胶。采用上述技术方案,本实用新型提供了一种带氢气的继电器,其大大提高了灭弧、散热性能,延长其使用寿命;而且,无需对衔铁、轭铁等部件电镀,节省资源,更加环保;而且,充气方便。


