授权公布号:CN213277959U
一种继电器上的线圈引出机构
有效
申请
2020-10-28
申请公布
1970-01-01
授权
2021-05-25
预估到期
2030-10-28
| 申请号 | CN202022442065.5 |
| 申请日 | 2020-10-28 |
| 授权公布号 | CN213277959U |
| 授权公告日 | 2021-05-25 |
| 分类号 | H01H50/44;H01H50/18 |
| 分类 | 基本电气元件; |
| 申请人名称 | 浙江泰华电器有限公司 |
| 申请人地址 | 浙江省温州市乐清市柳市镇东风工业区凯旋路30号 |
专利法律状态
2021-05-25
授权
状态信息
授权
摘要
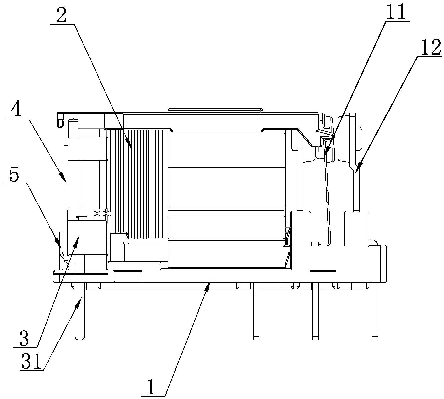
本实用新型涉及一种继电器上的线圈引出机构,包括基座、线圈架、线圈以及衔铁,所述基座上相对设有动、静簧片,所述线圈架设置在基座上,线圈设置在线圈架上,所述线圈架上相对设有两线圈引出片,衔铁设置在两线圈引出片的一侧,其特征在于,两线圈引出片均包括有线圈引针以及线圈引出脚,所述线圈引针与线圈引出脚平行设置,且线圈引针设置在线圈引出脚的外侧,所述线圈引针与线圈引出脚之间设有折弯片,两线圈引针之间的间距大于两线圈引出脚之间的间距。采用上述技术方案,本实用新型提供了一种继电器上的线圈引出机构,该线圈引出片增设了一个折弯片,使得两线圈引出片之间的间距变大,增加衔铁的面积,增强导磁性,同时方便接线。


