授权公布号:CN214818661U
一种应用于干粉灭火器成品摆放用循环式机械臂
有效
申请
2020-12-31
申请公布
1970-01-01
授权
2021-11-23
预估到期
2030-12-31
| 申请号 | CN202023317950.7 |
| 申请日 | 2020-12-31 |
| 授权公布号 | CN214818661U |
| 授权公告日 | 2021-11-23 |
| 分类号 | B25J15/06;B25J15/00 |
| 分类 | 手动工具;轻便机动工具;手动器械的手柄;车间设备;机械手; |
| 申请人名称 | 山东龙成消防科技股份有限公司 |
| 申请人地址 | 山东省泰安市新泰龙廷镇 |
专利法律状态
2021-11-23
授权
状态信息
授权
摘要
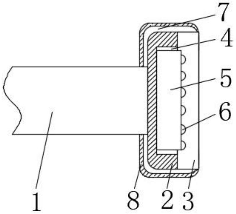
本实用新型公开了一种应用于干粉灭火器成品摆放用循环式机械臂,属于机械臂领域,包括支架,支架的一端固定安装有固定座,固定座的侧面开设有放置槽,放置槽的内部端面开设有凹槽,凹槽的内部固定安装有电磁铁,电磁铁的侧面均匀固定安装有防滑条,固定座的外表面固定安装有防腐层,厚度为1mm,防腐层的外表面固定安装有耐磨层,厚度为1mm。该应用于干粉灭火器成品摆放用循环式机械臂,通过电磁铁可将灭火器罐体吸附住,无需通过夹持固定,从而可避免因夹持力过大而导致灭火器罐体变形,提高使用效果。


