授权公布号:CN209451191U
一种长度可调的消防水枪
失效
申请
2018-11-22
申请公布
1970-01-01
授权
2019-10-01
预估到期
2028-11-22
| 申请号 | CN201821933380.4 |
| 申请日 | 2018-11-22 |
| 授权公布号 | CN209451191U |
| 授权公告日 | 2019-10-01 |
| 分类号 | A62C31/03;A62C31/28 |
| 分类 | 救生;消防; |
| 申请人名称 | 闽太消防科技股份有限公司 |
| 申请人地址 | 福建省泉州市南安市仑苍镇美宇阀门工业园 |
专利法律状态
2023-12-01
专利权的终止
状态信息
未缴年费专利权终止;IPC(主分类):A62C 31/03;专利号:ZL2018219333804;申请日:20181122;授权公告日:20191001;终止日期:
2019-10-01
授权
状态信息
授权
摘要
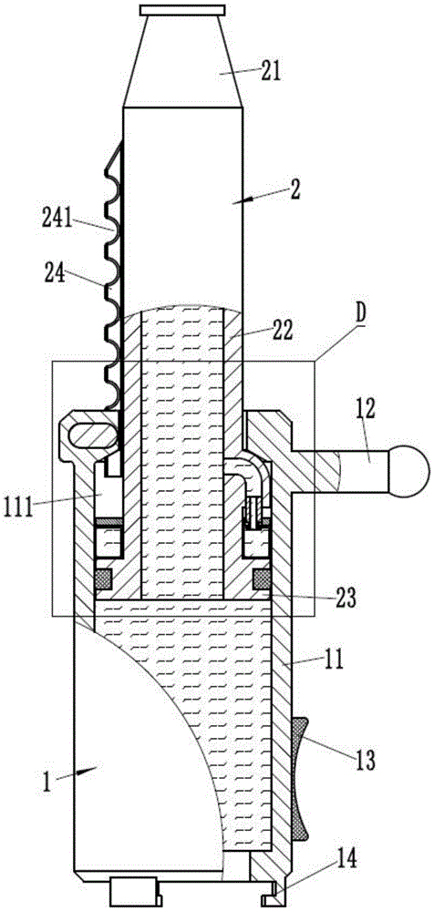
本实用新型公开了一种长度可调的消防水枪,包括基座和插套在基座内的伸缩枪头,基座包括连接管,连接管内成型有台阶孔、矩形槽和腰型槽;伸缩枪头包括一体成型的喷头部、管部、凸环和矩形条,矩形条上成型有若干上下布置的半圆槽;管部插套在台阶孔的上端小孔内,凸环插套在台阶孔的下端大孔内,凸环上套接有密封圈,密封圈的外壁压靠在台阶孔的内壁上,矩形条插套在矩形槽内,腰型槽内套接有腰型板,腰型板插套在矩形条上的其中一个半圆槽。本实用新型可以伸缩枪头可在基座内伸缩,且可以固定在不同的位置,能更有效的进行灭火工作,同时降低了对消防栓的占用空间。


