授权公布号:CN218739944U
发动机舱干粉灭火装置
有效
申请
2022-05-23
申请公布
1970-01-01
授权
2023-03-28
预估到期
2032-05-23
| 申请号 | CN202221260689.8 |
| 申请日 | 2022-05-23 |
| 授权公布号 | CN218739944U |
| 授权公告日 | 2023-03-28 |
| 分类号 | A62C3/06;A62C31/03;A62C31/28;F16F15/023;F16F15/067 |
| 分类 | 救生;消防; |
| 申请人名称 | 海天消防科技股份有限公司 |
| 申请人地址 | 河南省郑州市荥阳市京城办京城路与站南路交叉口东南角 |
专利法律状态
2023-03-28
授权
状态信息
授权
摘要
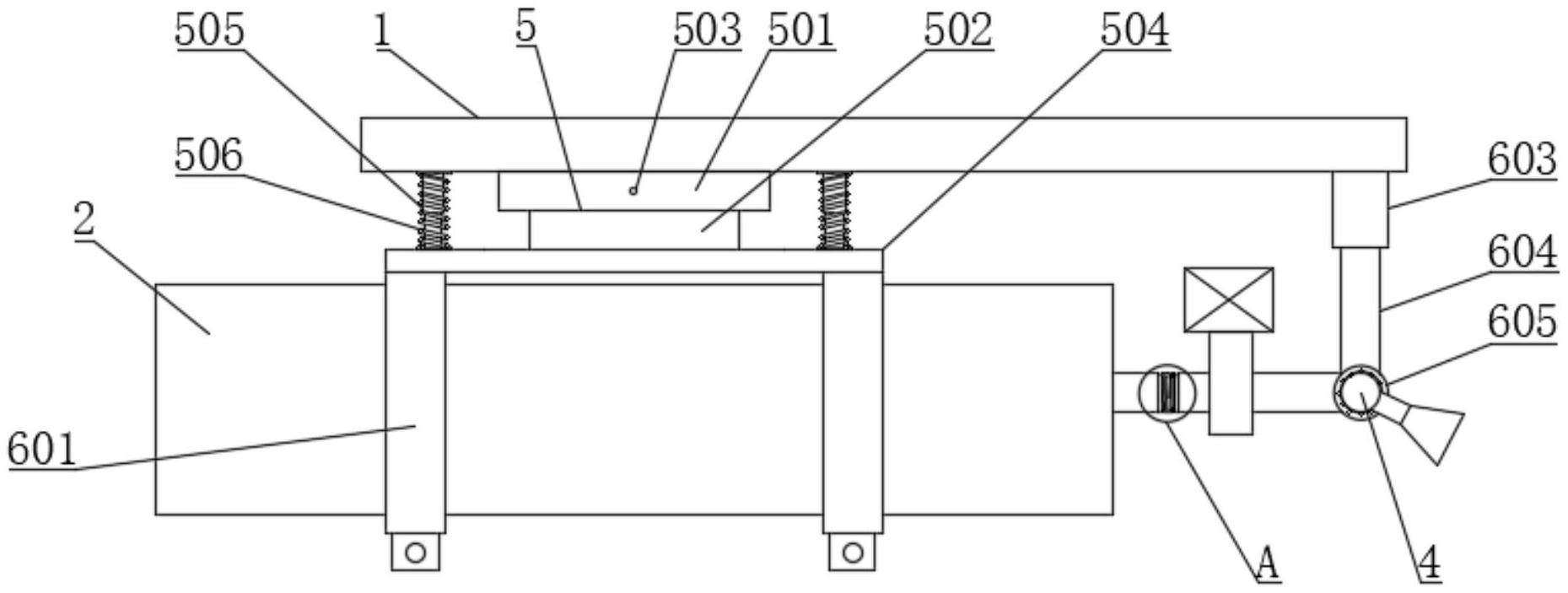
本实用新型公开了发动机舱干粉灭火装置,包括安装座和干粉灭火罐,所述干粉灭火罐右侧设置有喷射装置,所述喷射装置右侧固定连接有分管,所述安装座底部左侧设置有减震缓冲机构,所述安装座底部右侧设置有辅助机构,所述干粉灭火装置和喷射装置之间设置有连接机构,所述减震缓冲机构包括活塞缸、活塞杆、气孔、固定板、伸缩杆和弹簧,所述活塞缸固定连接于安装座底部左侧,所述活塞杆顶端伸缩连接于活塞缸底部,所述气孔开设于活塞缸正面顶部,所述固定板固定连接于活塞杆底端。本实用新型中,通过减震缓冲机构和辅助机构可以为干粉灭火罐提供减震缓冲保护,使其更稳定,从而避免干粉灭火罐的脱落,保证汽车行驶安全。


