授权公布号:CN1170128C
线性化的振弦式测力传感器
有效
申请
2001-10-12
申请公布
2003-04-23
授权
2023-03-21
预估到期
2021-10-12
| 申请号 | CN01134046.0 |
| 申请日 | 2001-10-12 |
| 申请公布号 | CN1412536A |
| 申请公布日 | 2003-04-23 |
| 授权公布号 | CN1170128C |
| 授权公告日 | 2023-03-21 |
| 分类号 | G01L1/10 |
| 分类 | 有机高分子化合物;其制备或化学加工;以其为基料的组合物; |
| 申请人名称 | 铜陵市三爱思电子有限公司 |
| 申请人地址 | 安徽省合肥市金寨路96号 |
专利法律状态
2023-03-21
授权
状态信息
授权
2021-02-26
实质审查的生效
状态信息
实质审查的生效;IPC(主分类):C08L63/00;申请日:20201125
2021-02-05
公布
状态信息
公布
2006-12-13
专利权的终止未缴年费专利权终止
状态信息
专利权的终止未缴年费专利权终止
2004-10-06
发明专利权授予
状态信息
授权
2003-09-17
实质审查的生效
状态信息
实质审查的生效
2003-04-23
发明专利申请公布
状态信息
公布
摘要
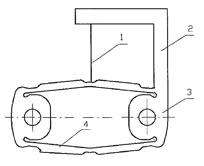
本发明是一种线性化的振弦式测力传感器,它涉及以振弦的频率变化而反映受力变化的传感器。它仍然包括振弦1和张紧振弦用的变形体2两部分,只是将传统的振弦式测力传感器中弓形变形体的一端改为呈对称六边形形状的六杆结构,使原先直接对受力情况(即待测负载)进行测量的一级结构改变为使待测负载分成两级传递到振弦上的结构。利用六杆结构使ΔL与Δl之间有接近于抛物线的非线性关系、从而使振弦的频率f同待测负载T之间有近似线性关系。本发明通过结构的改进实现了对振弦式传感器的非线性补偿。


