授权公布号:CN210516104U
一种应急指示灯
有效
申请
2019-07-12
申请公布
1970-01-01
授权
2020-05-12
预估到期
2029-07-12
| 申请号 | CN201921088199.2 |
| 申请日 | 2019-07-12 |
| 授权公布号 | CN210516104U |
| 授权公告日 | 2020-05-12 |
| 分类号 | G09F13/22;G08B5/38 |
| 分类 | 教育;密码术;显示;广告;印鉴; |
| 申请人名称 | 山东首安消防科技有限公司 |
| 申请人地址 | 山东省济南市高新区天辰2177号三庆联合财富广场1号楼1401室 |
专利法律状态
2020-05-12
授权
状态信息
授权
摘要
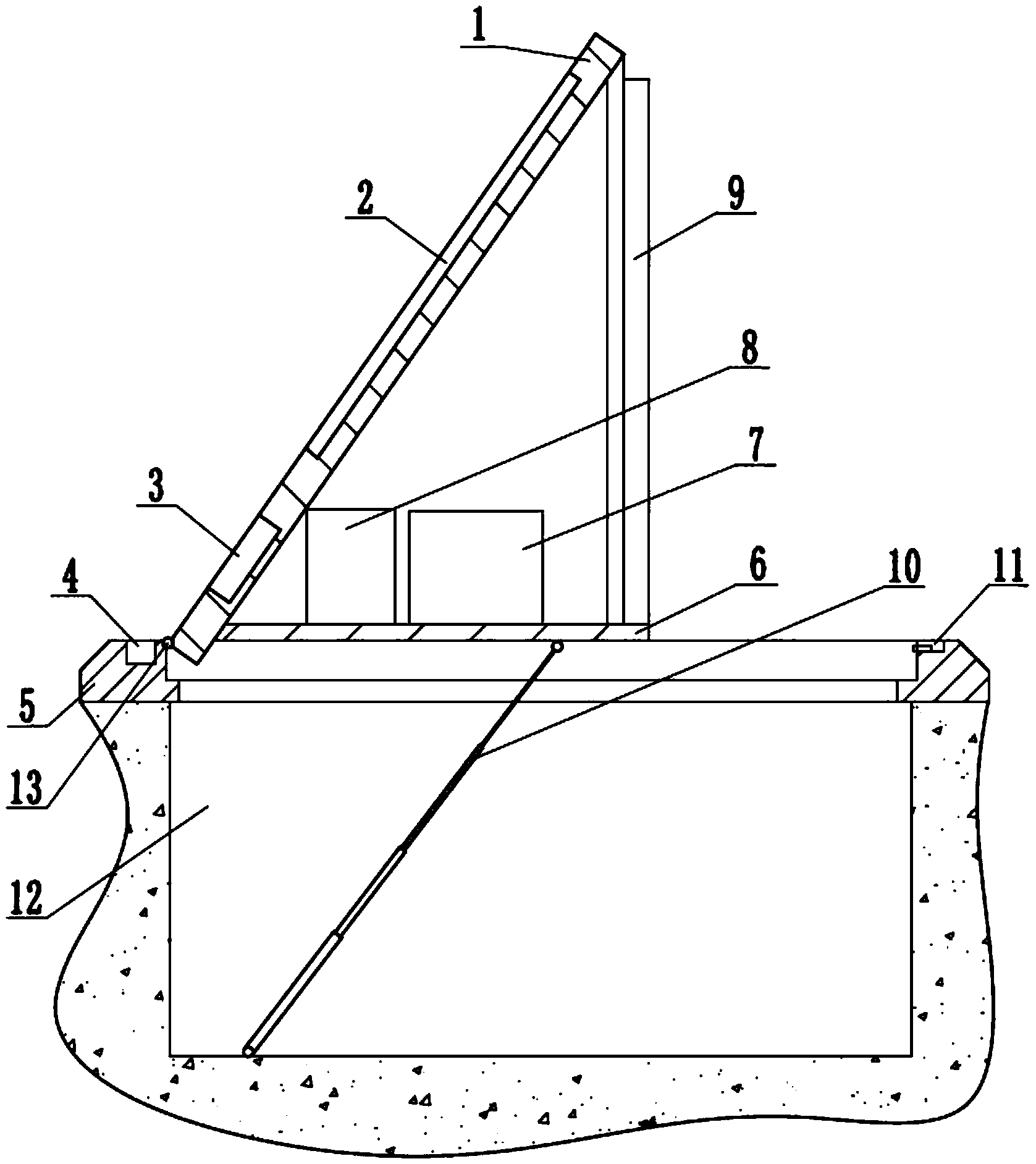
本实用新型公开了一种应急指示灯,主要涉及指示灯技术领域,包括灯体和安装坑,灯体有休眠状态和使用状态,灯体处于休眠状态时位于安装坑内,灯体处于使用状态时伸出安装坑外,灯体包括灯架、灯具和控制单元,灯具和控制单元均设置在灯架上,控制单元包括控制器、感应单元、卡扣和电池。本实用新型将指示灯设置在安装坑内,不使用时指示灯不占空间不碍事;紧急情况使用时,指示灯弹出,照射地面,火灾现场有大量烟雾,人员逃生时大多是弯着腰弓着身子,所以更容易看到地面上形成的灯光的逃生路,从混乱中尽快找到安全逃生通道;两种感应器配合使用,通过感应火灾现场的温度或烟雾启动警示灯和指示灯,两种灯配合更加显眼,更有利于逃生。


