授权公布号:CN207007059U
钢管涂层测厚装置
有效
申请
2017-05-26
申请公布
1970-01-01
授权
2018-02-13
预估到期
2027-05-26
| 申请号 | CN201720605999.1 |
| 申请日 | 2017-05-26 |
| 授权公布号 | CN207007059U |
| 授权公告日 | 2018-02-13 |
| 分类号 | G01B5/06 |
| 分类 | 测量;测试; |
| 申请人名称 | 广东华捷钢管实业有限公司 |
| 申请人地址 | 广东省中山市青溪路118号 |
专利法律状态
2018-02-13
授权
状态信息
授权
摘要
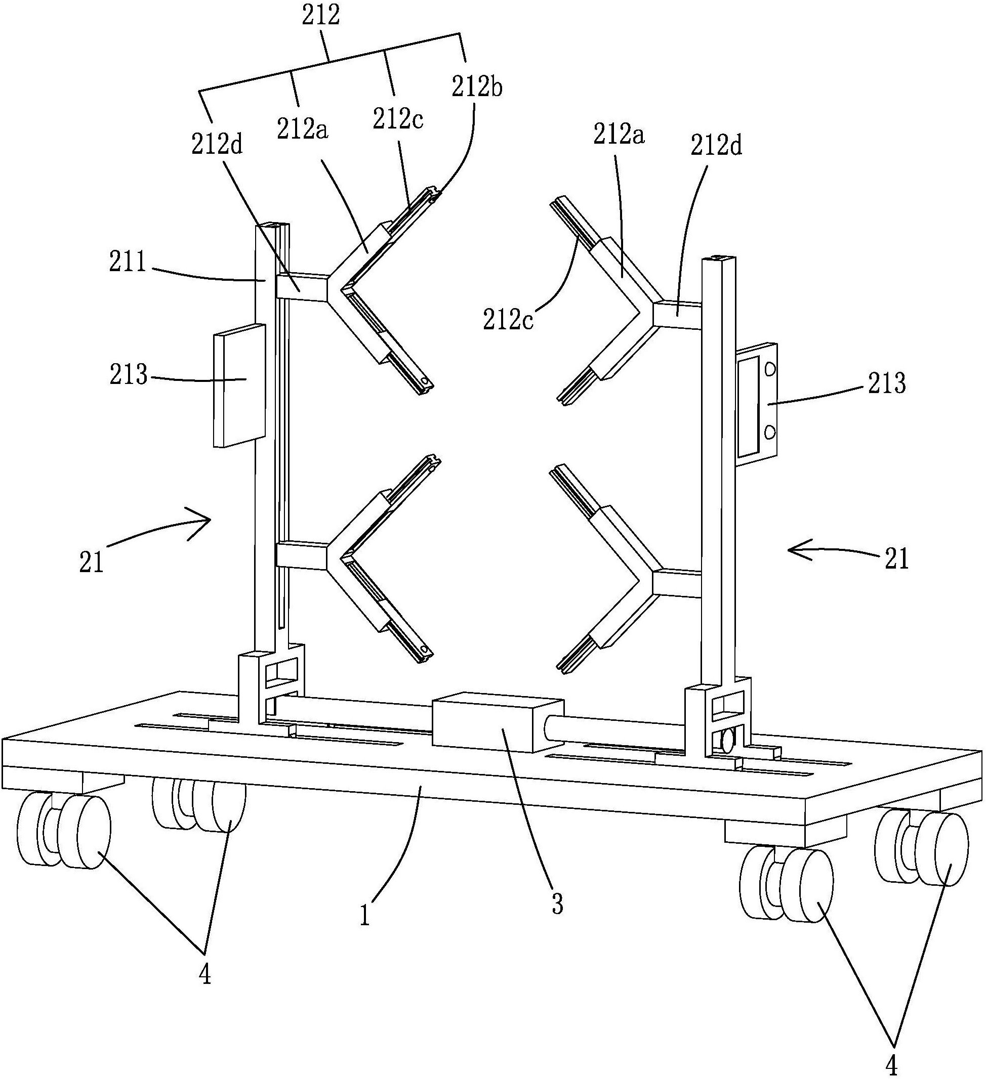
本申请提供了涉及钢管制造技术领域的钢管涂层测厚装置,其包括移动基座和测厚机构,所述测厚机构包括相对设置于所述移动基座上且能沿横向相对靠近或远离的两测厚仪,所述测厚仪包括设于所述移动基座上且能沿横向移动的移动架以及设于所述移动架内侧上的测厚架,且两测厚仪上的测厚架位置相对应,所述测厚架包括直角架以及分别设于所述直角架两直角边内侧上的测厚探头,且当两测厚仪沿横向移动至测量位置时,所述两测厚仪上相对应的测厚架的测厚探头均位于同一圆周上。本申请只需要通过沿横向移动两测厚仪使两侧厚仪上的测厚架靠近待测钢管就可对钢管进行测厚作业,操作简单,能有效的代替人工进行测厚作业,提高工作效率,便于使用。


