授权公布号:CN217538091U
凸轮止档的机械停车设备横移载车板
有效
申请
2021-12-23
申请公布
1970-01-01
授权
2022-10-04
预估到期
2031-12-23
| 申请号 | CN202123264763.1 |
| 申请日 | 2021-12-23 |
| 授权公布号 | CN217538091U |
| 授权公告日 | 2022-10-04 |
| 分类号 | E04H6/22;E04H6/42 |
| 分类 | 建筑物; |
| 申请人名称 | 上海爱登堡电梯集团股份有限公司 |
| 申请人地址 | 上海市闵行区恒西路139号 |
专利法律状态
2022-10-04
授权
状态信息
授权
摘要
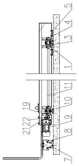
本实用新型公开一种凸轮止档的机械停车设备横移载车板,包括前后横移主动轮、前后横移被动轮、横移长轴、横移电机和横移车板,前横移主动轮两侧各安装一个凸轮;横移车板边梁在主动轮两侧各设有一橡胶缓冲垫,橡胶缓冲垫固定在横移车板边梁的下端,凸轮碰块和车板碰块前后交错安装在地面上,且凸轮碰块缺口导向处和横移车板的移动方向相反;凸轮和凸轮碰块的相互作用限制了横移车板一个方向的位移,橡胶缓冲垫和车板碰块的相互作用限制了横移车板另一个方向的位移。本实用新型的优点是实现了横移车板左右顺利移动,倒车时车板不发生位移。


