授权公布号:CN218094067U
一种自动释放电梯钢丝绳内应力的绳头装置
有效
申请
2022-07-08
申请公布
1970-01-01
授权
2022-12-20
预估到期
2032-07-08
| 申请号 | CN202221758447.1 |
| 申请日 | 2022-07-08 |
| 授权公布号 | CN218094067U |
| 授权公告日 | 2022-12-20 |
| 分类号 | F16G11/04;F16C33/10 |
| 分类 | 工程元件或部件;为产生和保持机器或设备的有效运行的一般措施;一般绝热; |
| 申请人名称 | 上海爱登堡电梯集团股份有限公司 |
| 申请人地址 | 上海市闵行区恒西路139号 |
专利法律状态
2022-12-20
授权
状态信息
授权
摘要
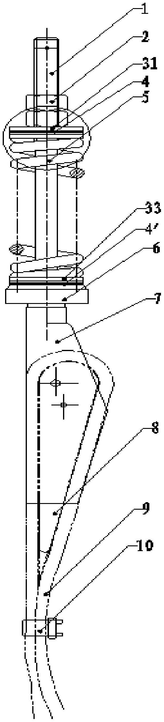
本实用新型公开了一种自动释放电梯钢丝绳内应力的绳头装置,包括螺杆、螺母、第一平垫片、第一自润滑轴承副、第二平垫片、弹簧、第三平垫片、第二自润滑轴承副、固定座、楔套和楔块,螺母、第一平垫片、第一自润滑轴承副、第二平垫片、弹簧、第三平垫片、第二自润滑轴承副和固定座从上至下依次套接在螺杆上;楔套的顶端套接在螺杆的底端;楔块容纳于所述楔套内并与楔套相配合,楔块和楔套之间形成钢丝绳通道。本实用新型的自动释放电梯钢丝绳内应力的绳头装置,在钢丝绳悬挂后,能进一步释放钢丝绳的内应力,避免因此问题造成的电梯运行抖动和噪音大等问题,在安装调整电梯钢丝绳张力时,可以大幅节省体力,减少绳头组件的磨损。


