授权公布号:CN211254898U
一种浅底坑用电梯
有效
申请
2019-12-11
申请公布
1970-01-01
授权
2020-08-14
预估到期
2029-12-11
| 申请号 | CN201922214792.3 |
| 申请日 | 2019-12-11 |
| 授权公布号 | CN211254898U |
| 授权公告日 | 2020-08-14 |
| 分类号 | B66B11/02 |
| 分类 | 卷扬;提升;牵引; |
| 申请人名称 | 四川科莱电梯股份有限公司 |
| 申请人地址 | 四川省绵阳市游仙区石马工业集中区 |
专利法律状态
2020-08-14
授权
状态信息
授权
摘要
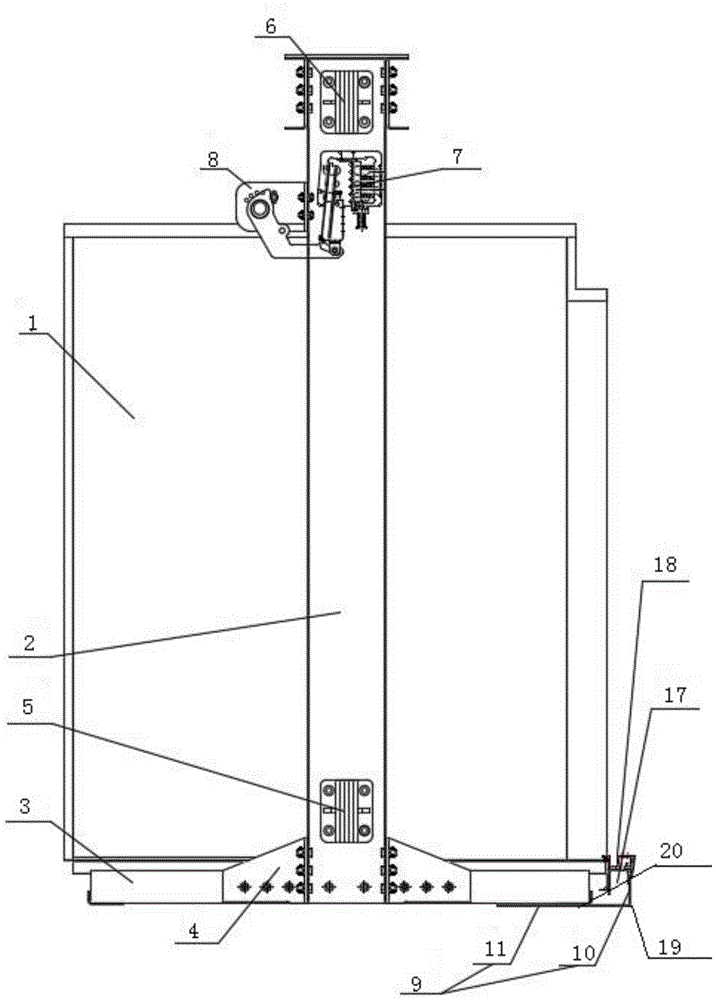
本实用新型涉及电梯机械技术领域,旨在解决现有技术中的结构松散、安全性差和不适用于浅底坑的问题,提供一种浅底坑用电梯,其包括轿厢;所述轿厢的两外侧面上各设有立柱;所述立柱的下端内侧可拆卸的连接于所述轿厢的轿厢底;各所述立柱的外侧上部和下部各设有第一导靴和第二导靴;所述第二导靴下方设有固定连接于立柱外侧的安全钳,所述轿厢的顶部设有与所述安全钳连接配合的提拉机构;所述轿厢底的前端设有护脚板,所述护脚板包括固定板和转动板,所述固定板连接于轿厢底的前端,所述转动板的一端可转动的连接于所述固定板的下端,并能够转动到第一位置或第二位置。本实用新型的有益效果是结构紧凑、安全可靠、适用于浅底坑。


