授权公布号:CN211254867U
一种电梯阻止装置
有效
申请
2019-12-11
申请公布
1970-01-01
授权
2020-08-14
预估到期
2029-12-11
| 申请号 | CN201922220576.X |
| 申请日 | 2019-12-11 |
| 授权公布号 | CN211254867U |
| 授权公告日 | 2020-08-14 |
| 分类号 | B66B5/26 |
| 分类 | 卷扬;提升;牵引; |
| 申请人名称 | 四川科莱电梯股份有限公司 |
| 申请人地址 | 四川省绵阳市游仙区石马工业集中区 |
专利法律状态
2020-08-14
授权
状态信息
授权
摘要
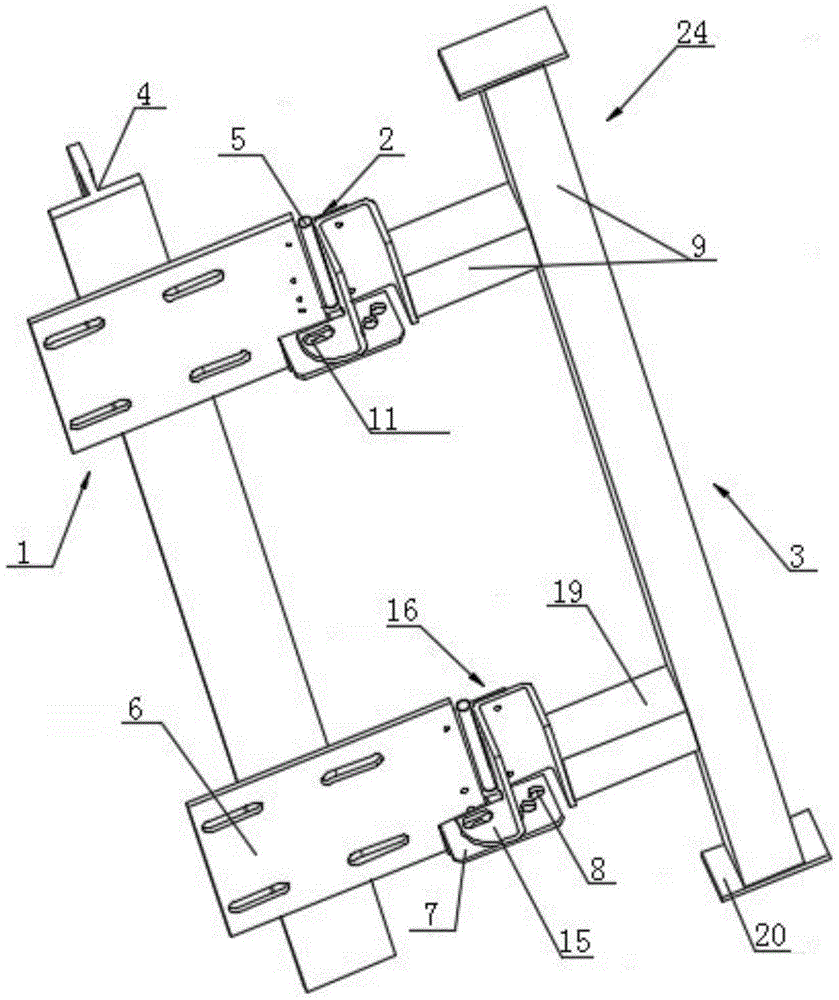
本实用新型涉及电梯机械技术领域,旨在解决现有技术中的电梯阻止装置的结构复杂、安装繁琐、占用较多的井道空间和使用不便的问题,提供一种电梯阻止装置,其包括固定组件、旋转组件和支撑组件;所述固定组件连接电梯导轨的背面,所述支撑组件通过旋转组件可转动的连接于固定组件;所述旋转组件的旋转轴平行于电梯导轨;所述固定组件包括固定板和定位板,所述支撑组件包括支撑件和连接件;所述连接件上设有孔洞,所述孔洞能够随支撑组件转动至对应定位板上任意通孔的位置,并且所述通孔与孔洞内能够通过销杆固定限位;本实用新型的有益效果是具有结构简单、安装方便、节省井道空间、使用方便且能够方便地实现电梯阻止装置适用于浅底坑。


