授权公布号:CN219837899U
一种去毛边连续模
有效
申请
2023-05-12
申请公布
1970-01-01
授权
2023-10-17
预估到期
2033-05-12
| 申请号 | CN202321140518.6 |
| 申请日 | 2023-05-12 |
| 授权公布号 | CN219837899U |
| 授权公告日 | 2023-10-17 |
| 分类号 | B26F1/44;B26F1/24;B26D7/02;B26D7/00 |
| 分类 | 手动切割工具;切割;切断; |
| 申请人名称 | 厦门市金汤橡塑有限公司 |
| 申请人地址 | 福建省厦门市同安区马垵路5号1号厂房一层 |
专利法律状态
2023-10-17
授权
状态信息
授权
摘要
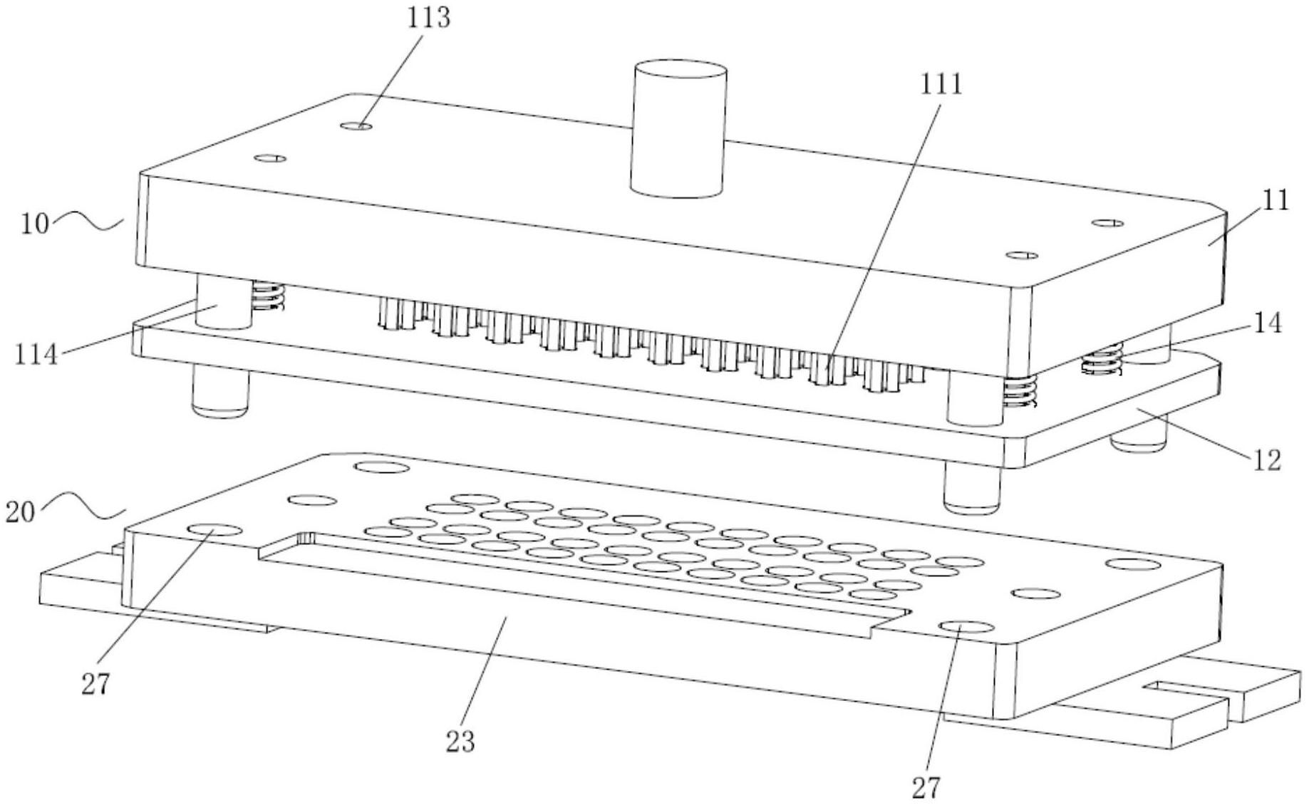
本实用新型公开了一种去毛边连续模,包括上模及下模,所述上模包括固定板、位于固定板下方的压料板及多根连接杆,所述连接杆底端与所述压料板固接,顶端与所述固定板上下滑动连接,所述连接杆的外周均套置有一弹簧,所述固定板上设有多组内冲针、多组外冲针,且所述内冲针及外冲针的底端均可活动的贯穿所述压料板,所述下模设有多组与内冲针一一对应设置的内冲孔、多组与外冲针一一对应设置的外冲孔。本实用新型去毛边连续模,结构简单、设计合理,既能针对产品内圈冲压、又能针对产品外圈冲压,机械化批量作业可有效避免毛边、提高效率及产品品质,其弹簧、导柱及导孔、让位槽的设计,有效提高冲压的精准性,进一步提高产品品质。


