授权公布号:CN212948745U
一种拉丝机组片膜吸湿装置
有效
申请
2020-07-07
申请公布
1970-01-01
授权
2021-04-13
预估到期
2030-07-07
| 申请号 | CN202021311936.3 |
| 申请日 | 2020-07-07 |
| 授权公布号 | CN212948745U |
| 授权公告日 | 2021-04-13 |
| 分类号 | B29C37/00 |
| 分类 | 塑料的加工;一般处于塑性状态物质的加工; |
| 申请人名称 | 安徽安远塑胶股份有限公司 |
| 申请人地址 | 安徽省滁州市定远县工业园区 |
专利法律状态
2021-04-13
授权
状态信息
授权
摘要
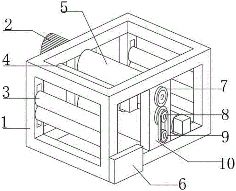
本实用新型公开了一种拉丝机组片膜吸湿装置,包括装置架,所述装置架的左右两侧均设置有上下两夹紧橡胶棒,夹紧橡胶棒的前后两端均设置有滑块,所述装置架的内部前后两侧均开设有对应滑块的滑槽,所述装置架的内部左侧上方与内部右侧下方均安装有真空吸湿棒,所述装置架的外侧中部固定安装有前后两侧板,两侧板之间转动连接有上下两吸水棉棒。本实用新型通过设置上下两真空吸湿棒对片膜的上下两面进行除湿工作,在两真空吸湿棒之间设上下两吸水棉棒,并通过电机驱动其转动,对片膜表面进行高效吸湿,显著提高了片膜的除湿效率和除湿效果。


