授权公布号:CN104552785B
用于风扇叶的电热丝式带冷却注塑上模
有效
申请
2014-09-19
申请公布
2015-04-29
授权
2016-10-05
预估到期
2034-09-19
| 申请号 | CN201410482449.6 |
| 申请日 | 2014-09-19 |
| 申请公布号 | CN104552785A |
| 申请公布日 | 2015-04-29 |
| 授权公布号 | CN104552785B |
| 授权公告日 | 2016-10-05 |
| 分类号 | B29C45/26;B29C45/73;B29L31/08N |
| 分类 | 塑料的加工;一般处于塑性状态物质的加工; |
| 申请人名称 | 安徽安远塑胶股份有限公司 |
| 申请人地址 | 安徽省滁州市定远县工业园区 |
专利法律状态
2023-07-18
专利权质押合同登记的生效、变更及注销
状态信息
专利权质押合同登记的生效;IPC(主分类):B29C 45/26;专利号:ZL2014104824496;登记号:Y2023980047007;登记生效日:20230630;出质人:安徽安远塑胶股份有限公司;质权人:中国建设银行股份有限公司定远支行;发明名称:用于风扇叶的电热丝式带冷却注塑上模;申请日:20140919;授权公告日:20161005
2020-10-23
专利申请权、专利权的转移
状态信息
专利权的转移;IPC(主分类):B29C45/26;登记生效日:20200929;变更事项:专利权人;变更前:重庆开确科技有限公司;变更后:安徽安远塑胶股份有限公司;变更事项:地址;变更前:402460 重庆市荣昌县板桥工业园区;变更后:233200 安徽省滁州市定远县工业园区
2016-10-05
授权
状态信息
授权
2015-05-27
实质审查的生效
状态信息
实质审查的生效;IPC(主分类):B29C45/26;申请日:20140919
2015-04-29
公布
状态信息
公布
摘要
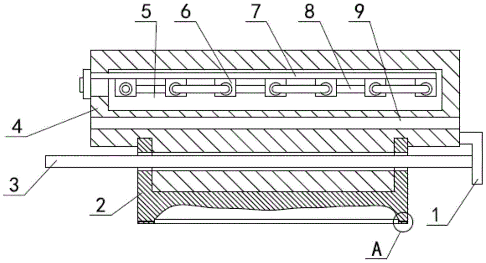
本发明涉及一种用于风扇叶的电热丝式带冷却注塑上模,属于注塑模具技术领域,其包括上模本体,上模本体的右下部水平设置有排气通道,在上模本体上部设置有一块用于上模本体加热的加热铝块,在上模本体的上表面向下开设有凹槽,加热铝块的下表面向下延伸有与凹槽配合的凸块,在加热铝块中部横向开设有一个加热腔,在加热腔内横向设置有一块安装板,在安装板底部设置有电加热丝,电加热丝通过陶瓷管安装在安装板底部,在加热腔下方的加热铝块中横向开设有一个冷却水腔,在排气通道内侧壁上设置有环状结构的凸台。本发明其结构简单,其上模本体均匀受热,加热速度快,生产效率高,安装方便,确保了产品的合格率。


