授权公布号:CN213834137U
一种用于轿厢导轨的轿厢绳头板
有效
申请
2020-10-28
申请公布
1970-01-01
授权
2021-07-30
预估到期
2030-10-28
| 申请号 | CN202022454931.2 |
| 申请日 | 2020-10-28 |
| 授权公布号 | CN213834137U |
| 授权公告日 | 2021-07-30 |
| 分类号 | B66B7/08 |
| 分类 | 卷扬;提升;牵引; |
| 申请人名称 | 快客电梯有限公司 |
| 申请人地址 | 浙江省嘉兴市海宁市长安镇(高新区)创智路33号 |
专利法律状态
2021-07-30
授权
状态信息
授权
摘要
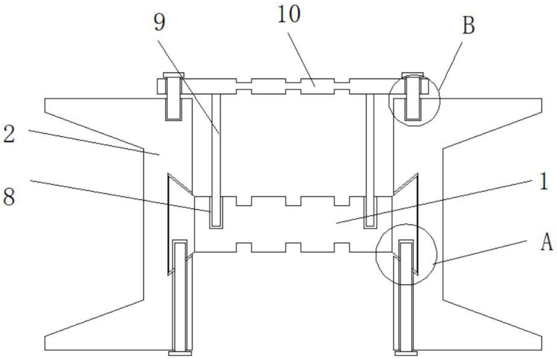
本实用新型公开了一种用于轿厢导轨的轿厢绳头板,属于电梯设备领域,包括板体A,所述板体A左右两侧有滑轨,所述滑轨内端中心内部固定开装有限位槽,所述板体A两侧贯穿限位槽滑装有限位板,所述限位板下端内部固定安装有螺槽A,所述限位槽下侧滑轨内部开装有螺槽B,所述螺槽A和螺槽B内部转装有螺栓A,所述板体A左右两侧上端内部开装有插槽,所述插槽内部插装有插板,所述插板上端固定安装有板体B,所述板体B左右两侧内部固定开装有螺槽C。通过设置转动结构和嵌入式固定结构,提高了绳头板的实用性。


