授权公布号:CN210122436U
一种带防眩晕功能的电梯
有效
申请
2019-02-22
申请公布
1970-01-01
授权
2020-03-03
预估到期
2029-02-22
| 申请号 | CN201920223362.5 |
| 申请日 | 2019-02-22 |
| 授权公布号 | CN210122436U |
| 授权公告日 | 2020-03-03 |
| 分类号 | B66B1/30;B66B1/32;B66B11/00;B66B11/08;B66B5/00 |
| 分类 | 卷扬;提升;牵引; |
| 申请人名称 | 快客电梯有限公司 |
| 申请人地址 | 浙江省嘉兴市海宁市长安镇(高新区)创智路33号 |
专利法律状态
2020-03-03
授权
状态信息
授权
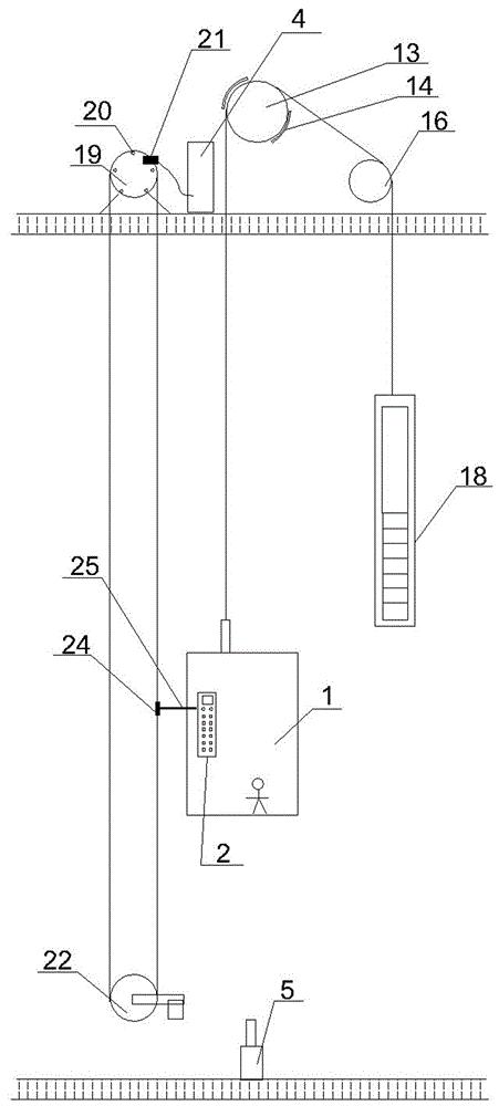
摘要
本实用新型公开了一种带防眩晕功能的电梯,包括作为主体的轿厢,所述的轿厢内设有操控箱,所述的操控箱上设有防眩晕按钮,所述的轿厢顶部连接着拉升装置,所述的轿厢左侧设有用于检测轿厢升降速度的测速装置,所述的拉升装置旁设有控制柜,所述的轿厢下方设有缓冲器,所述的操控箱、拉升装置和测速装置分别与控制柜相连接。本实用新型克服了现有技术中存在的传统的电梯在运行过程中容易让乘客产生晕眩感的问题。本实用新型具有结构简单、操作方便、防晕效果显著、通过调节电梯的运行模式来为满足客户的多种需求、适应性交广等优点。


