授权公布号:CN220672369U
一种高压绕组及干式变压器
有效
申请
2023-08-16
申请公布
1970-01-01
授权
2024-03-26
预估到期
2033-08-16
| 申请号 | CN202322210005.4 |
| 申请日 | 2023-08-16 |
| 授权公布号 | CN220672369U |
| 授权公告日 | 2024-03-26 |
| 分类号 | H01F27/32;H01B3/28;H01B5/16;H01B17/46;H01F27/33;H01F27/36 |
| 分类 | 基本电气元件; |
| 申请人名称 | 江苏神马电力股份有限公司 |
| 申请人地址 | 江苏省南通市苏通科技产业园海维路66号 |
专利法律状态
2024-03-26
授权
状态信息
授权
摘要
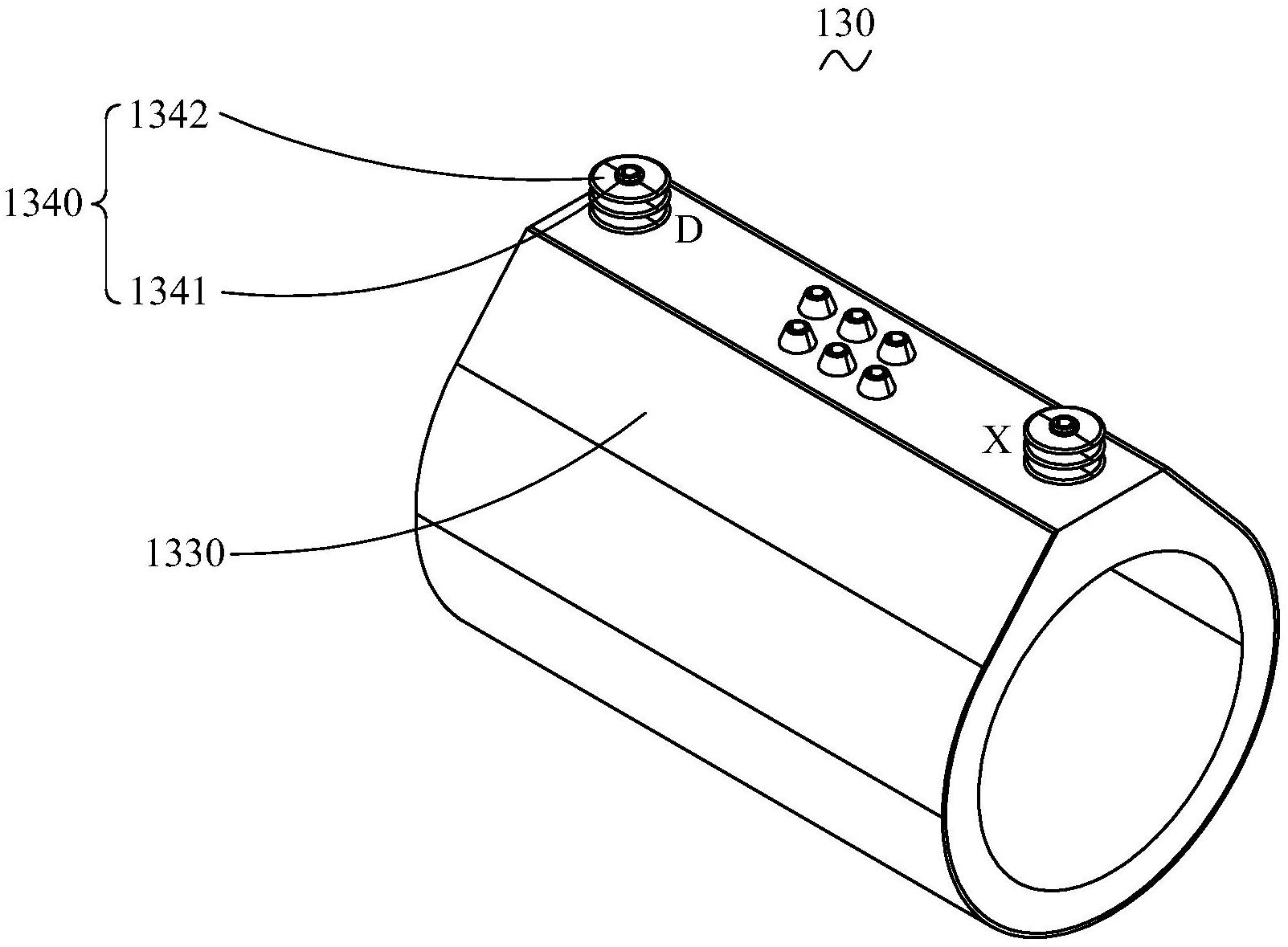
本申请公开一种高压绕组,包括绕线体、高压线圈、高压绝缘层、外接绝缘层,绕线体包括若干绕线板,若干绕线板沿绕线体的周向均匀分布,导线绕制在绕线板上形成高压线圈,导线的两端形成两个外接,高压绝缘层包裹高压线圈和绕线体,外接绝缘层包裹外接的侧壁,外接绝缘层和高压绝缘层一体注射成型。本申请还公开一种干式变压器。本申请的高压绕组的外接绝缘层和高压绝缘层一体成型,密封性更好,且加工周期短、制造成本低。


