授权公布号:CN111620177B
一种防护网钢丝绳生产用传送装置
有效
申请
2020-05-24
申请公布
2020-09-04
授权
2022-04-01
预估到期
2040-05-24
| 申请号 | CN202010445516.2 |
| 申请日 | 2020-05-24 |
| 申请公布号 | CN111620177A |
| 申请公布日 | 2020-09-04 |
| 授权公布号 | CN111620177B |
| 授权公告日 | 2022-04-01 |
| 分类号 | B65H51/08;B65H57/14;B65H61/00;B65H59/38 |
| 分类 | 输送;包装;贮存;搬运薄的或细丝状材料; |
| 申请人名称 | 唐山天天安科技有限公司 |
| 申请人地址 | 河北省唐山市滦县滦州镇西双山村 |
专利法律状态
2022-04-01
授权
状态信息
授权
2020-09-04
公布
状态信息
公布
摘要
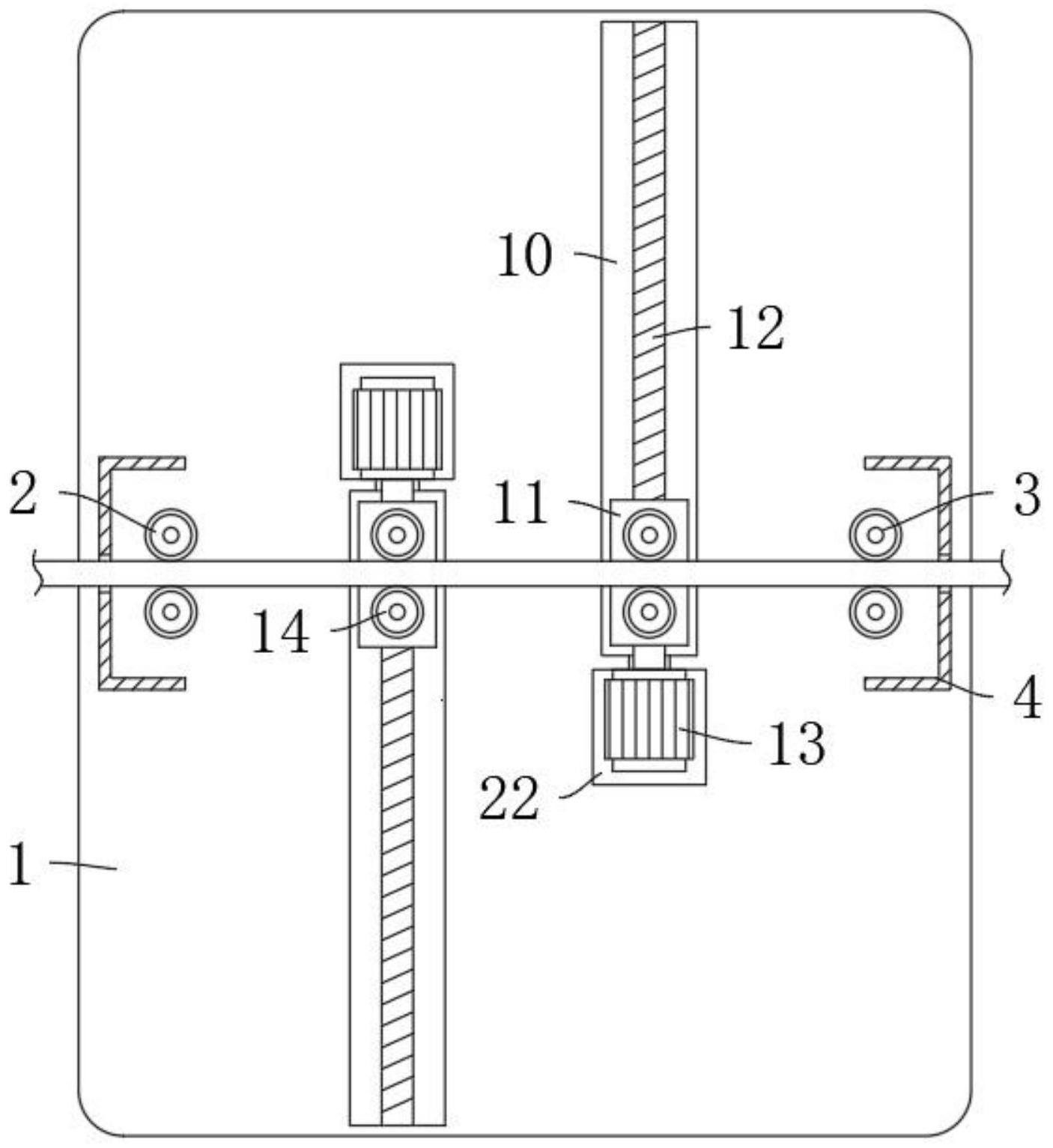
本发明公开了一种防护网钢丝绳生产用传送装置,属于钢丝绳领域。一种防护网钢丝绳生产用传送装置,包括支撑板,所述支撑板的左右侧壁分别转动安装有两个第一导向轮与两个第二导向轮,两个所述第一导向轮与第二导向轮的外壁均设有相互对应的罩壳,所述罩壳的外壁设有与第二导向轮连接的长度测量装置,所述支撑板的侧壁设有多个平行设置的滑道,多个所述滑道内均设有滑块,多个所述滑块的侧壁均设有两个对应的第三导向轮,多个所述滑道内均设有驱动机构,所述驱动机构与长度测量装置之间设有自动触发机构;本发明可以在传输钢丝绳时对钢丝绳的长度进行记录,并且能够对因故障而产生的多余长度的钢丝绳进行收纳,防止加工设备故障损坏。


