授权公布号:CN217745537U
力量型健身器材配重铁调节机构
有效
申请
2022-06-21
申请公布
1970-01-01
授权
2022-11-08
预估到期
2032-06-21
| 申请号 | CN202221557578.3 |
| 申请日 | 2022-06-21 |
| 授权公布号 | CN217745537U |
| 授权公告日 | 2022-11-08 |
| 分类号 | A63B21/06;A63B23/02 |
| 分类 | 运动;游戏;娱乐活动; |
| 申请人名称 | 山东世纪星文体器材有限公司 |
| 申请人地址 | 山东省德州市庆云经济开发区中澳路北 |
专利法律状态
2022-11-08
授权
状态信息
授权
摘要
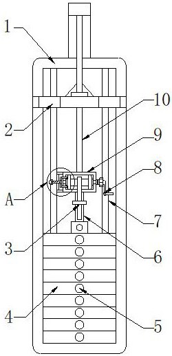
本实用新型公开了力量型健身器材配重铁调节机构,包括:拉力器,所述拉力器顶端的中间位置处滑动连接有拉绳,且拉绳的一端安装有拉杆,所述拉力器内部的两侧均安装有滑杆,且滑杆的外壁均匀滑动连接有配重块,所述配重块的一端开设有第一限位孔,且配重块的中间位置处滑动连接有导杆,所述导杆的外壁均匀安装有固定筒,且固定筒的一端开设有第二限位孔。本实用新型可通过转动摇柄将固定绳释放一定的长度,便于将插销卡入对应的第一限位孔和第二限位孔内部进行配重铁调节,然后转动摇柄将固定绳收紧,并转动调节栓带动卡件卡入限位槽内部进行锁定,避免插销松动,完成最终稳定的调节,从而解决了调节后固定效果不佳的问题。


