授权公布号:CN216893915U
一种耐磨不锈钢铰链
有效
申请
2021-11-17
申请公布
1970-01-01
授权
2022-07-05
预估到期
2031-11-17
| 申请号 | CN202122821655.3 |
| 申请日 | 2021-11-17 |
| 授权公布号 | CN216893915U |
| 授权公告日 | 2022-07-05 |
| 分类号 | E05D3/02;E05D11/02;E05D5/04;E05D5/06;E05D5/10 |
| 分类 | 锁;钥匙;门窗零件;保险箱; |
| 申请人名称 | 浙江颐家工贸有限公司 |
| 申请人地址 | 浙江省金华市武义白洋工业区(下陈) |
专利法律状态
2022-07-05
授权
状态信息
授权
摘要
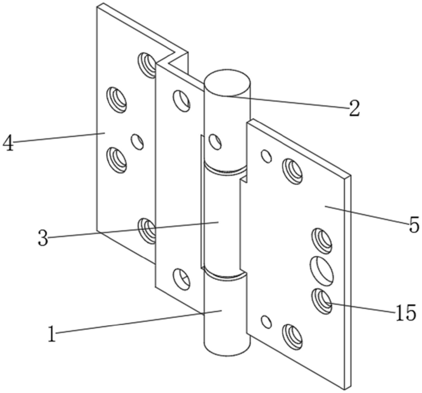
本实用新型公开了一种耐磨不锈钢铰链,包括第一固定轴、第二固定轴、旋转轴、固定板以及转动板,所述第一固定轴顶部设置有第二固定轴,所述第一固定轴外壁嵌套旋转轴,所述第一固定轴外壁一侧设置有固定板,所述旋转轴外壁一侧设置有转动板,所述第一固定轴内部设置有油道,所述油道内部设置有浮球,所述第一固定轴外壁开设有出油口,所述第二固定轴内部开设有限位槽,所述第二固定轴外壁开设有进油口,该铰链,通过在第一固定轴内部设置油道以及油道内设置浮球,第一固定轴外壁设置出油口,在第二固定轴外壁设置进油口,通过进油口加入润滑油,减小铰链之间的摩擦力,提高使用寿命,同时采用球阀堵塞进油口,防止润滑油泄露。


