授权公布号:CN217920967U
可人工轻松操作的吊笼门机构
有效
申请
2022-07-25
申请公布
1970-01-01
授权
2022-11-29
预估到期
2032-07-25
| 申请号 | CN202221922687.0 |
| 申请日 | 2022-07-25 |
| 授权公布号 | CN217920967U |
| 授权公告日 | 2022-11-29 |
| 分类号 | B66B13/06;B66B13/24;B66B13/26;B66B13/30;B66B13/14 |
| 分类 | 卷扬;提升;牵引; |
| 申请人名称 | 苏州默顿快速电梯有限公司 |
| 申请人地址 | 江苏省苏州市吴江区桃源镇梵香开发区99号 |
专利法律状态
2022-11-29
授权
状态信息
授权
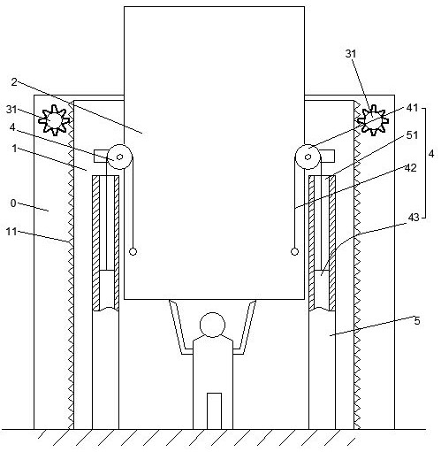
摘要
可人工轻松操作的吊笼门机构,包括活动门框、活动门板及吊笼门开关机构,活动门框具有两侧部和/或顶部;活动门板可上下活动地设置于活动门框上;活动门框可上下活动地设置于施工升降机吊笼的吊笼主体上;吊笼门开关机构与活动门框驱动连接,用于驱动活动门框上下活动,并使活动门框带动活动门板跟随活动门框上下活动;还包括和活动门板相连接的两套配重装置;配重装置包括设置在活动门框上的悬挂轮、悬挂在悬挂轮上的连接绳,连接绳的一端连接有配重块,另一端和活动门板相连接。本实用新型,在施工升降机吊笼门因异常运行或电气系统失效正要关闭时,活动门板可被人员更加轻松地顶起。


