授权公布号:CN213391727U
一种节能断桥内平开窗型材
有效
申请
2019-12-26
申请公布
1970-01-01
授权
2021-06-08
预估到期
2029-12-26
| 申请号 | CN201922387909.8 |
| 申请日 | 2019-12-26 |
| 授权公布号 | CN213391727U |
| 授权公告日 | 2021-06-08 |
| 分类号 | E06B3/263;E06B3/36;E06B3/58;E06B7/16;E06B3/66 |
| 分类 | 一般门、窗、百叶窗或卷辊遮帘;梯子; |
| 申请人名称 | 江苏春阳幕墙门窗股份有限公司 |
| 申请人地址 | 江苏省苏州市昆山市巴城镇东定路555号 |
专利法律状态
2021-06-08
授权
状态信息
授权
摘要
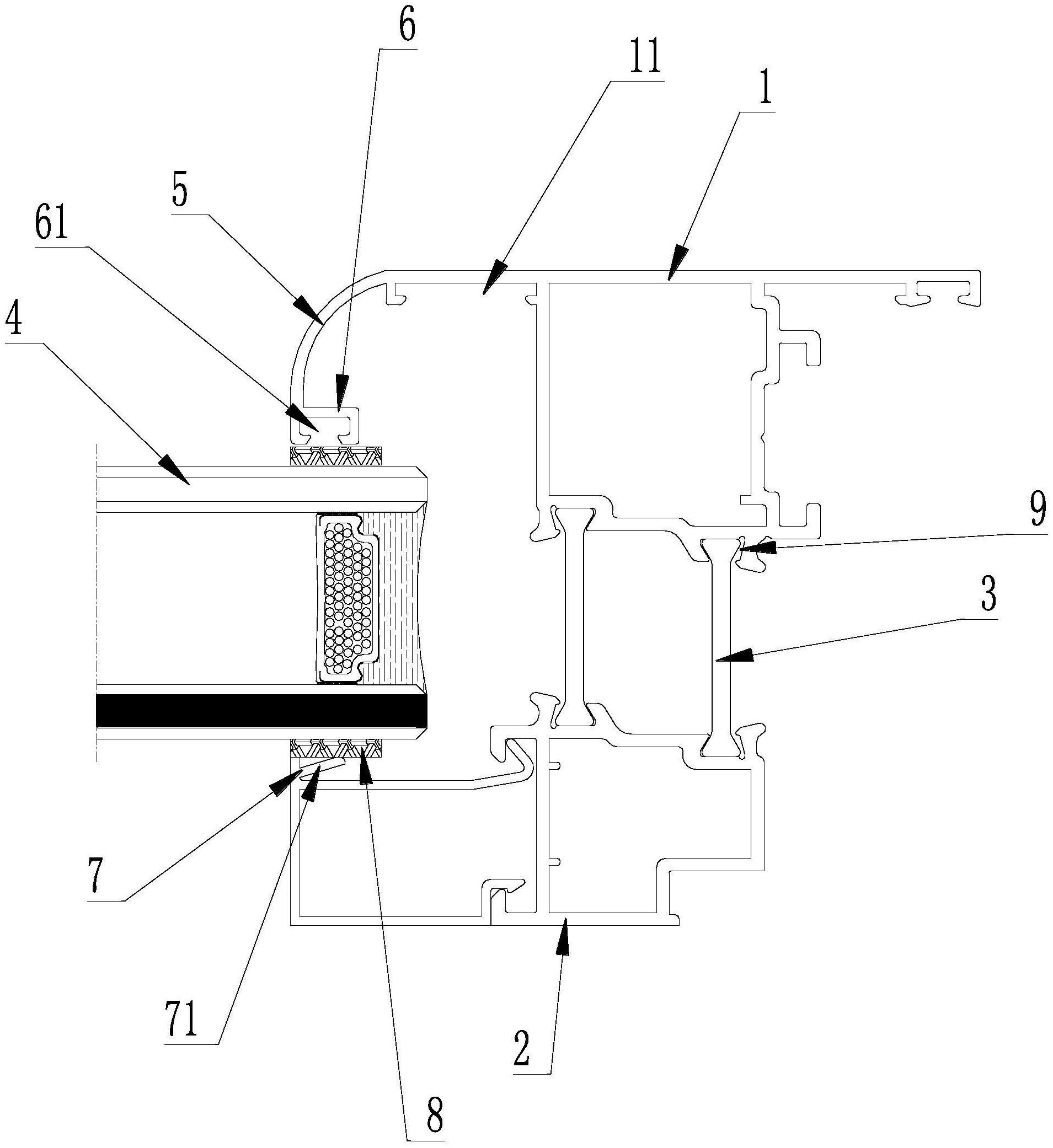
本实用新型公开了一种节能断桥内平开窗型材,属于门窗设备技术领域,该型材包括置于室内的内框和置于室外的外框,内框和外框之间由节能穿条进行固定连接,在内框和外框的相对一侧固定有中空玻璃,内框在朝向中空玻璃的一侧设置有圆弧形的角扇,所述内框上在靠近所述角扇的一侧设置有内加强腔,所述角扇的末端设置有内密封体,在所述内密封体内设置有内密封腔。本实用新型的在平开窗的内边增加了圆弧形的角扇,防止误伤孩子及大人,该圆弧的角扇造型美观、漂亮,使平开窗的整体结构强度得到提高,增加平开窗型材性能,同时进一步提升中空玻璃的密闭性安装的稳定性和牢固性。


