授权公布号:CN210948423U
防脱轨的PVC快速门
有效
申请
2019-09-04
申请公布
1970-01-01
授权
2020-07-07
预估到期
2029-09-04
| 申请号 | CN201921464457.2 |
| 申请日 | 2019-09-04 |
| 授权公布号 | CN210948423U |
| 授权公告日 | 2020-07-07 |
| 分类号 | E06B9/15 |
| 分类 | 一般门、窗、百叶窗或卷辊遮帘;梯子; |
| 申请人名称 | 江苏飞腾智能门业有限公司 |
| 申请人地址 | 江苏省苏州市苏州吴中经济开发区天鹅荡路2号9幢 |
专利法律状态
2020-07-07
授权
状态信息
授权
摘要
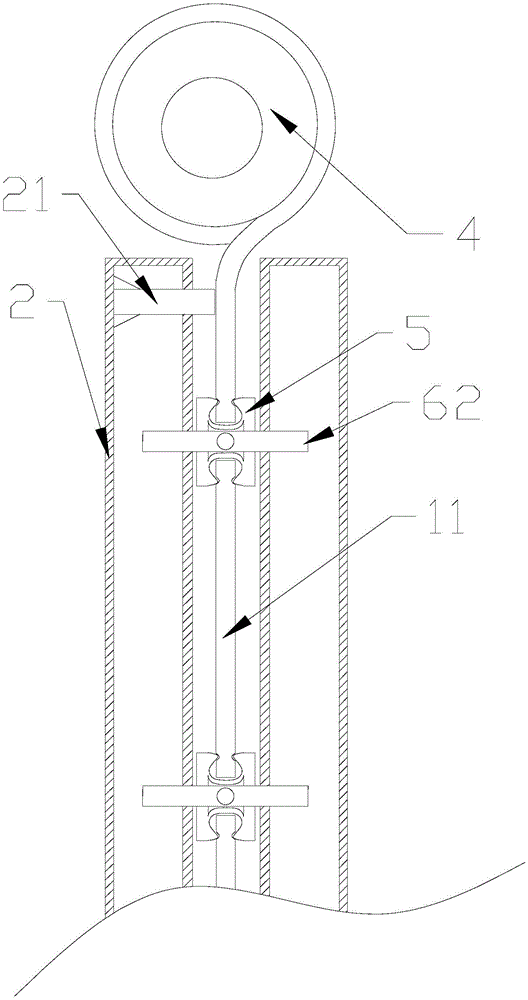
本实用新型公开了一种防脱轨的PVC快速门,包括帘布以及一对竖向门轨,所述竖向门轨的上端共同设有受驱动电机驱动的卷筒。所述帘布的上端固定绕设在卷筒上,其两侧边滑动设置在竖向门轨内。所述帘布包括多个由上而下设置的卷帘片,相邻两个卷帘片之间通过抗风条拼合而成。所述抗风条的两端延伸进竖向门轨内并设有防脱组件。所述防脱组件包括与抗风条固接的防脱连杆,所述防脱连杆的端部转动设置有卡设在竖向门轨内的防脱卡条。所述防脱卡条与抗风条之间固接有扭簧。所述竖向门轨靠近所述卷筒的一端设有用于驱动防脱卡条转动的拨片。本实用新型提高了PVC快速门的抗风性能,避免了帘布脱离轨道,保证了PVC快速门的正常使用。


