授权公布号:CN215331734U
保安亭
有效
申请
2021-06-28
申请公布
1970-01-01
授权
2021-12-28
预估到期
2031-06-28
| 申请号 | CN202121445322.9 |
| 申请日 | 2021-06-28 |
| 授权公布号 | CN215331734U |
| 授权公告日 | 2021-12-28 |
| 分类号 | E04H1/12;E04B1/343;H04N7/18;H04N5/232 |
| 分类 | 建筑物; |
| 申请人名称 | 温州缪氏门业科技有限公司 |
| 申请人地址 | 浙江省温州市瑞安市上望街道闻涛路55号置信工业园14幢101-501室、15幢106室 |
专利法律状态
2021-12-28
授权
状态信息
授权
摘要
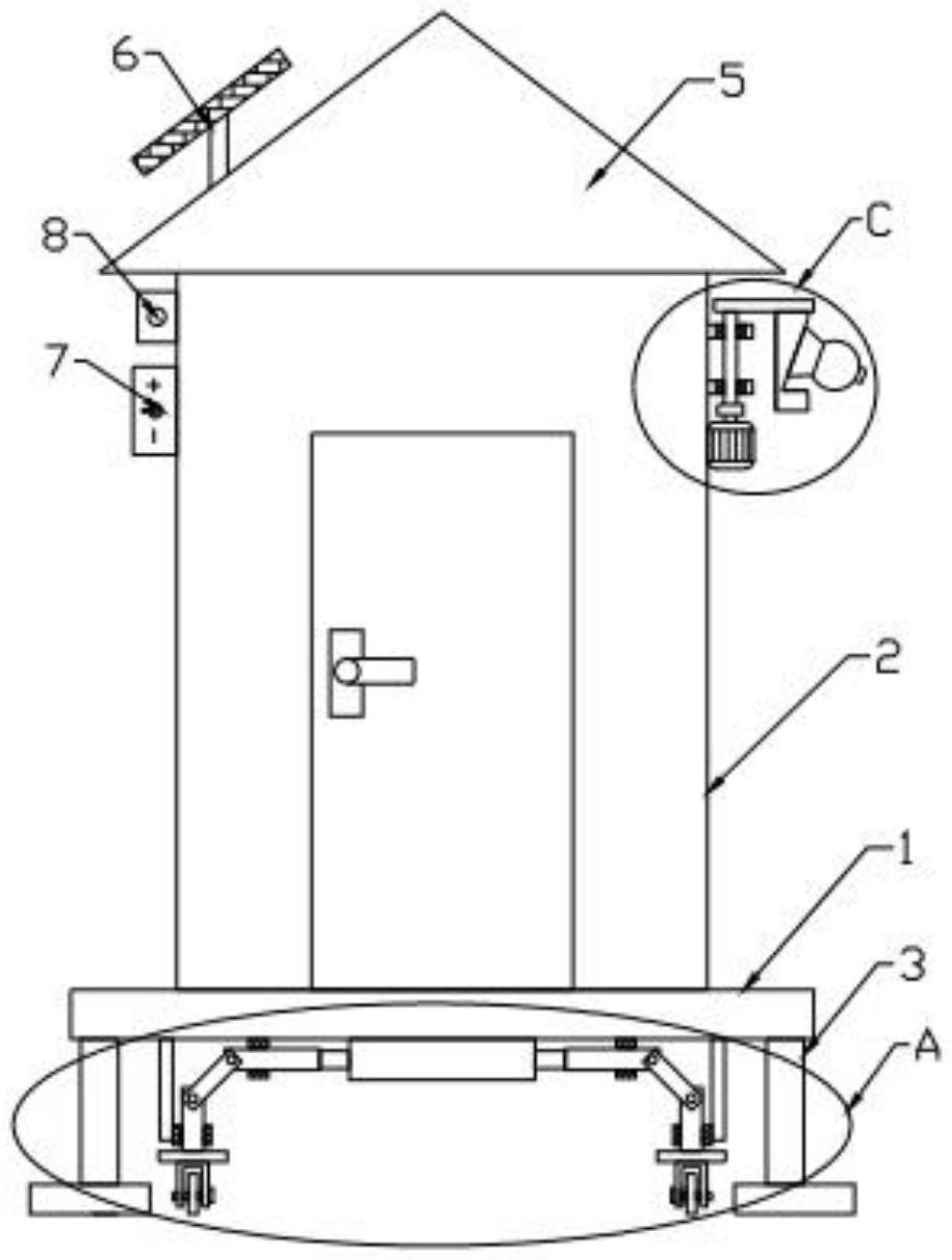
本实用新型公开了安保领域的保安亭,包括底座,底座上安装有安保屋,底座的底部安装有行走机构,行走机构包括:双杆液压缸、横杆、第一限位套、摆杆、竖杆、第二限位套、转接板、基板、脚轮、销轴、第一滚珠和第二滚珠,双杆液压缸固定于底座的底部,双杆液压缸的左右两侧分别连接有一个横杆,横杆贯穿第一限位套,第一限位套与底座相固定,第一限位套内安装有多个与横杆相贴合的第一滚珠,横杆通过销轴与摆杆的顶端转动连接,摆杆的底端通过销轴与竖杆转动连接,竖杆贯穿第二限位套,第二限位套内安装有多个与竖杆相贴合的第二滚珠,竖杆的底部安装有基板,基板的底部安装有多个脚轮。本实用新型移动方便,监控范围广。


