授权公布号:CN220533908U
一种固定牢固的防火窗打磨加工用夹持组件
有效
申请
2023-07-17
申请公布
1970-01-01
授权
2024-02-27
预估到期
2033-07-17
| 申请号 | CN202321861699.1 |
| 申请日 | 2023-07-17 |
| 授权公布号 | CN220533908U |
| 授权公告日 | 2024-02-27 |
| 分类号 | B24B41/06 |
| 分类 | 磨削;抛光; |
| 申请人名称 | 福建三艺门业有限公司 |
| 申请人地址 | 福建省福州市仓山区建新镇百花洲路33号金山工业区浦上片台江园22号、23号厂房 |
专利法律状态
2024-02-27
授权
状态信息
授权
摘要
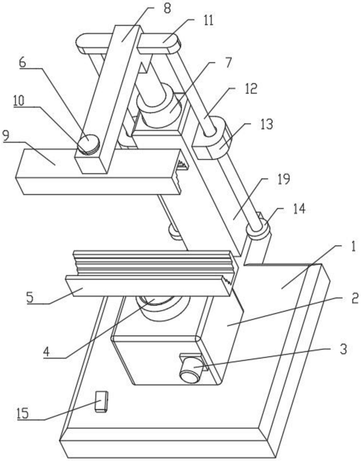
本实用新型涉及防火窗加工领域,具体为一种固定牢固的防火窗打磨加工用夹持组件,包括底座,所述底座顶部设置有固定箱,所述固定箱顶部设置有转孔,所述固定箱内转动设置有转轴一,所述转轴一上设置有蜗轮,所述固定箱内位于蜗轮一侧转动设置有蜗杆,通过液压缸带动顶架和上夹持座向下移动,通过下夹持座的的配合,便于对防火窗进行牢固的夹持,通过驱动电机转动蜗杆驱动蜗轮和转轴一转动,从而使下夹持座带动防火窗进行转动,便于调节防火窗的角度,便于对防火窗进行打磨,实用性更高。


