授权公布号:CN213144206U
一种防火门窗附框
有效
申请
2020-05-14
申请公布
1970-01-01
授权
2021-05-07
预估到期
2030-05-14
| 申请号 | CN202020800052.8 |
| 申请日 | 2020-05-14 |
| 授权公布号 | CN213144206U |
| 授权公告日 | 2021-05-07 |
| 分类号 | E06B1/02;E06B3/964 |
| 分类 | 一般门、窗、百叶窗或卷辊遮帘;梯子; |
| 申请人名称 | 福建三艺门业有限公司 |
| 申请人地址 | 福建省福州市仓山区建新镇百花洲路33号金山工业区浦上片台江园22号、23号厂房 |
专利法律状态
2021-05-07
授权
状态信息
授权
摘要
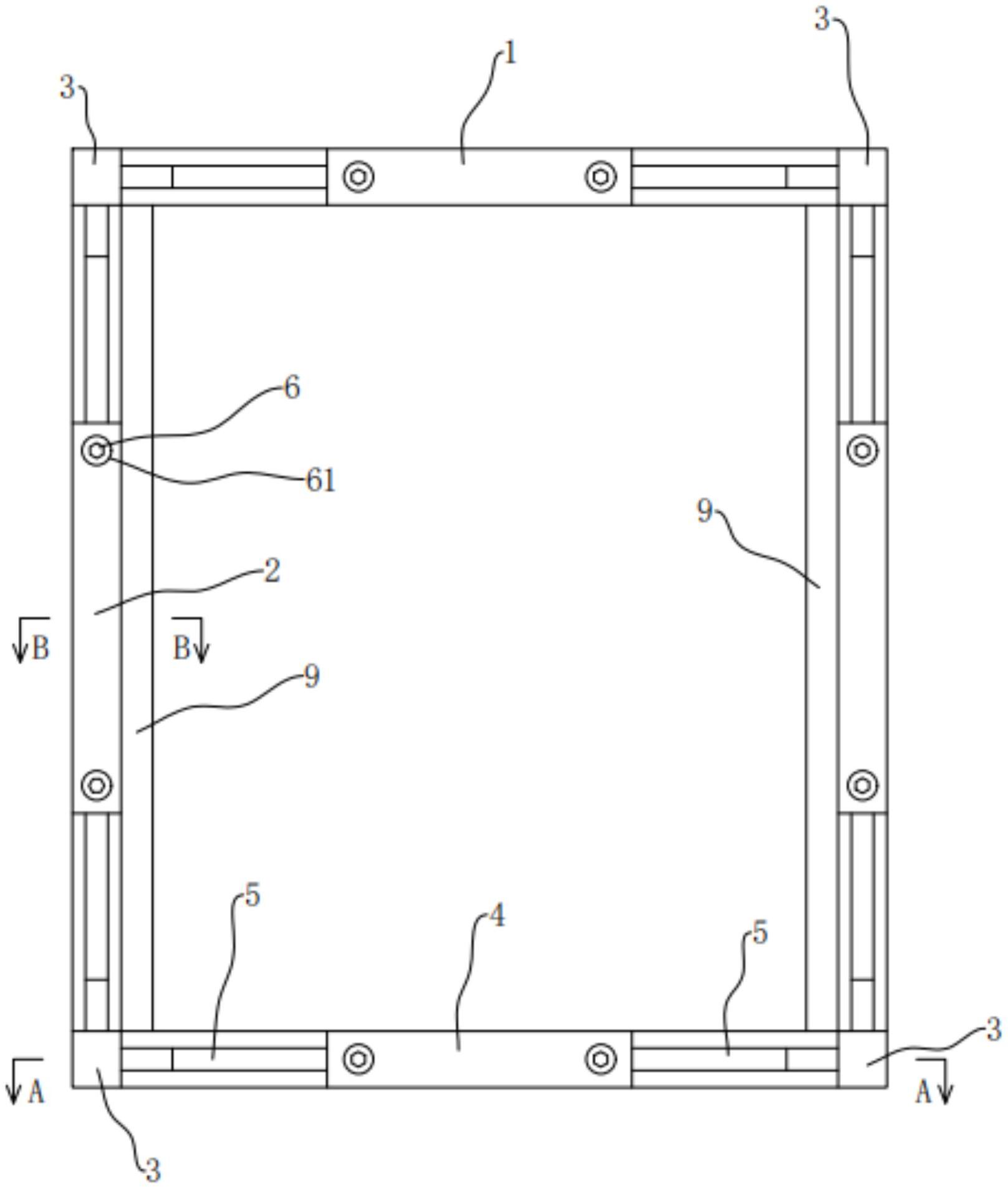
本实用新型公开了一种防火门窗附框,涉及建筑门窗技术领域,其技术方案要点是:包括横向边框与竖向边框,所述横向边框与竖向边框通过连接角连接,所述横向边框与竖向边框结构一致,所述横向边框包括中间固定段以及分部设置于中间固定段两端的两个调节伸缩段,两所述调节伸缩段分别滑动插接于中间固定段的两端,且所述中间固定段上设置有用于将调节伸缩段固定于中间固定段上的固定件。通过调整调节伸缩段插接于中间固定段上的长度,能够调整横向边框与竖向边框的长度,从而能够调整防火门窗附框的大小,适用于多种大小的防火门窗,具有提高适用性的效果。


