授权公布号:CN211818851U
一种门窗合页结构
有效
申请
2020-09-16
申请公布
1970-01-01
授权
2020-10-30
预估到期
2030-09-16
| 申请号 | CN202020094957.8 |
| 申请日 | 2020-09-16 |
| 授权公布号 | CN211818851U |
| 授权公告日 | 2020-10-30 |
| 分类号 | E05D7/00;E05D11/00 |
| 分类 | 锁;钥匙;门窗零件;保险箱; |
| 申请人名称 | 福建三艺门业有限公司 |
| 申请人地址 | 福建省福州市仓山区建新镇百花洲路33号金山工业区浦上片台江园22号、23号厂房 |
专利法律状态
2020-10-30
授权
状态信息
授权
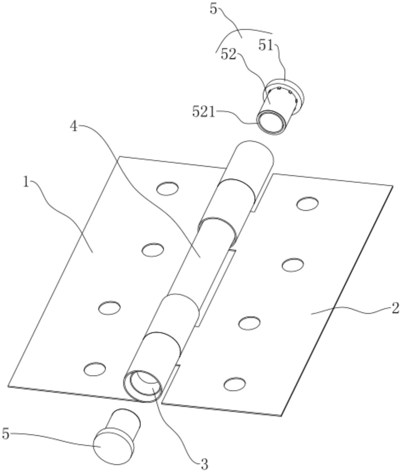
摘要
本实用新型公开了一种门窗合页结构,涉及合页技术领域,其技术方案要点是:包括相互铰接的左扇页片与右扇页片,所述左扇页片与右扇页片的铰接端设置有安装孔,所述安装孔内设置有转轴且两端安装有平头,所述平头包括平头盖与插接于安装孔内的塞柱,所述安装孔的内壁上向其圆心方向延伸有限位架,所述限位架与安装孔的内壁之间形成限位槽,所述塞柱上设置有插接于限位槽内的限位条。本实用新型能够提高平头与安装孔安装的稳固性,防止安装孔变形而影响平头的牢固性,具有提高合页的使用寿命的效果。


