授权公布号:CN214922092U
一种防盗门装配台
有效
申请
2021-06-28
申请公布
1970-01-01
授权
2021-11-30
预估到期
2031-06-28
| 申请号 | CN202121452389.5 |
| 申请日 | 2021-06-28 |
| 授权公布号 | CN214922092U |
| 授权公告日 | 2021-11-30 |
| 分类号 | B23P19/027 |
| 分类 | 机床;不包含在其他类目中的金属加工; |
| 申请人名称 | 南阳市大鹏飞门业有限公司 |
| 申请人地址 | 河南省南阳市宛城区纬十路中段 |
专利法律状态
2021-11-30
授权
状态信息
授权
摘要
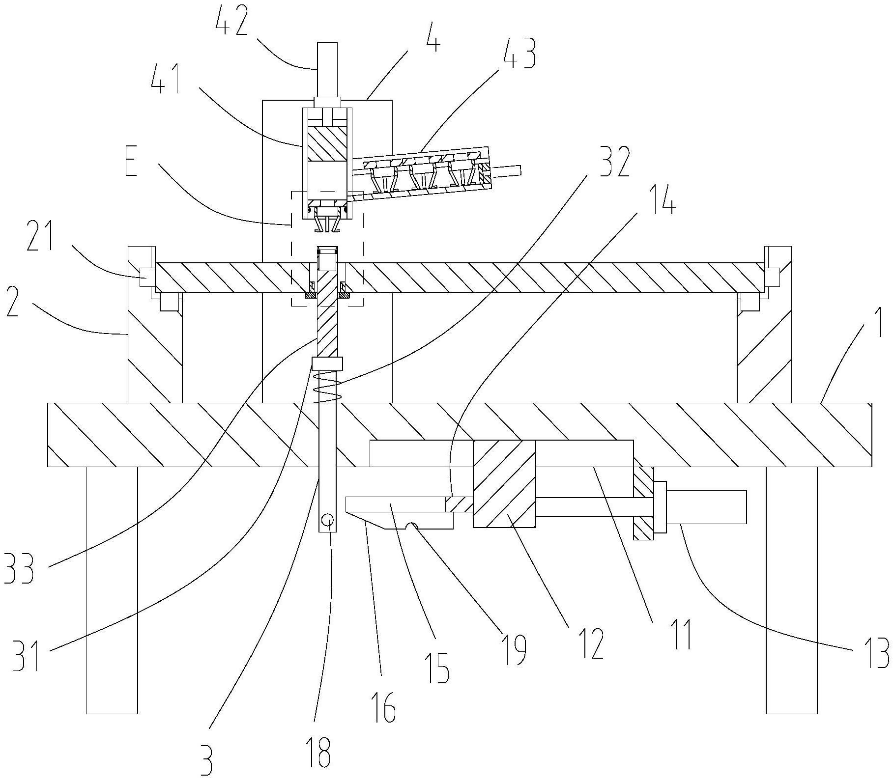
本实用新型公开了一种防盗门装配台,包括工作台,工作台上侧固定连接两个托板,每个托板上端设有直角槽,两个直角槽相对设置,工作台设有滑孔,滑孔内滑动连接拉杆,拉杆上端固定连接圆台,圆台与工作台之间固定连接支撑弹簧,圆台上侧固定连接圆柱,圆柱上端设有圆孔,圆孔上端设有倒角,圆孔内壁设有环状槽,环状槽内固定连接橡胶圈,橡胶圈内壁设有防滑槽,工作台上侧固定连接侧板,侧板固定连接投料管,投料管上端固定连接下压气缸,下压气缸的伸缩杆下端固定连接推块。本实用新型通过拉杆将卡接部下拉,卡接部的弹性卡板弹性复位从而使得卡条快速卡入固定座上,安装快捷方便,工作效率高。


