授权公布号:CN215919973U
一种金属门窗制造的表面处理装置
有效
申请
2021-08-10
申请公布
1970-01-01
授权
2022-03-01
预估到期
2031-08-10
| 申请号 | CN202121861282.6 |
| 申请日 | 2021-08-10 |
| 授权公布号 | CN215919973U |
| 授权公告日 | 2022-03-01 |
| 分类号 | B24B9/04;B24B55/06;B24B47/12;B24B41/02;B24B41/06;B24B41/00 |
| 分类 | 磨削;抛光; |
| 申请人名称 | 南阳市大鹏飞门业有限公司 |
| 申请人地址 | 河南省南阳市宛城区纬十路中段 |
专利法律状态
2022-03-01
授权
状态信息
授权
摘要
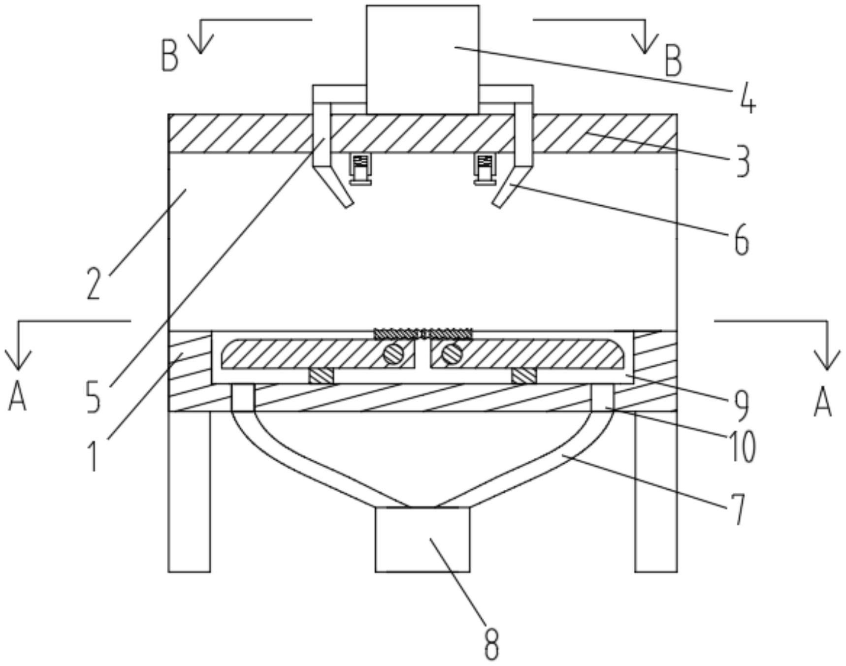
本实用新型公开了一种金属门窗制造的表面处理装置,包括箱体,箱体上表面固定连接有侧板,侧板上表面固定连接有顶板,顶板上表面固定连接水箱,水箱两侧分别固定连接一个第一水管,两个第一水管错位设置,第一水管向下贯穿顶板,箱体侧面两侧固定连接第一电机第二电机,箱体一侧两端分别固定连接第一电机和第二电机,第一电机的第一主轴穿过箱体侧壁并延伸至箱体的内腔,本实用新型涉及金属门窗制造技术领域。该一种金属门窗制造的表面处理装置,达到了快速翻转金属门窗并方便对金属门窗外表面进行处理的目的,以及减少工作粉尘弥漫的作用,便于保护工人健康,且操作简单快捷,加快工作效率。


