授权公布号:CN214640580U
一种用于金属门窗加工的切割装置
有效
申请
2021-05-27
申请公布
1970-01-01
授权
2021-11-09
预估到期
2031-05-27
| 申请号 | CN202121155993.1 |
| 申请日 | 2021-05-27 |
| 授权公布号 | CN214640580U |
| 授权公告日 | 2021-11-09 |
| 分类号 | B23D19/00;B23D33/02;B23Q1/26;B23Q11/00 |
| 分类 | 机床;不包含在其他类目中的金属加工; |
| 申请人名称 | 南阳市大鹏飞门业有限公司 |
| 申请人地址 | 河南省南阳市宛城区生态工业园区 |
专利法律状态
2021-11-09
授权
状态信息
授权
摘要
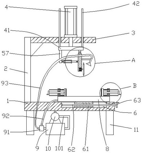
本实用新型公开一种用于金属门窗加工的切割装置,包括基板,所述基板上侧设有水平设置的滑槽,滑槽内滑动配合连接滑块。本实用新型的有益效果是:本实用所提供的一种用于金属门窗加工的切割装置,过第一转动手轮驱动第一螺杆推动夹紧板将金属门窗进行夹紧固定,第二转动手轮驱动第二螺杆带动滑块在滑槽内滑动,滑块在滑槽内滑动能够带动工作板在基板的上表面水平移动从而能够调整金属门窗的切割位置,方板转动能够带动切割片转动从而能够调整切割片的切割角度,第一电动伸缩杆向下推动安装板能够带动切割片向下移动对金属门窗进行切割,打开吸尘机在吸尘罩与吸尘孔的配合下将切割时产生的灰尘与碎屑吸出通过滤尘网过滤后排出。


