授权公布号:CN215467340U
一种金属门窗冲压装置
有效
申请
2021-06-29
申请公布
1970-01-01
授权
2022-01-11
预估到期
2031-06-29
| 申请号 | CN202121465035.4 |
| 申请日 | 2021-06-29 |
| 授权公布号 | CN215467340U |
| 授权公告日 | 2022-01-11 |
| 分类号 | B21D22/02;B21D37/14;B08B1/00;B08B1/04 |
| 分类 | 基本上无切削的金属机械加工;金属冲压; |
| 申请人名称 | 南阳市大鹏飞门业有限公司 |
| 申请人地址 | 河南省南阳市宛城区纬十路中段 |
专利法律状态
2022-01-11
授权
状态信息
授权
摘要
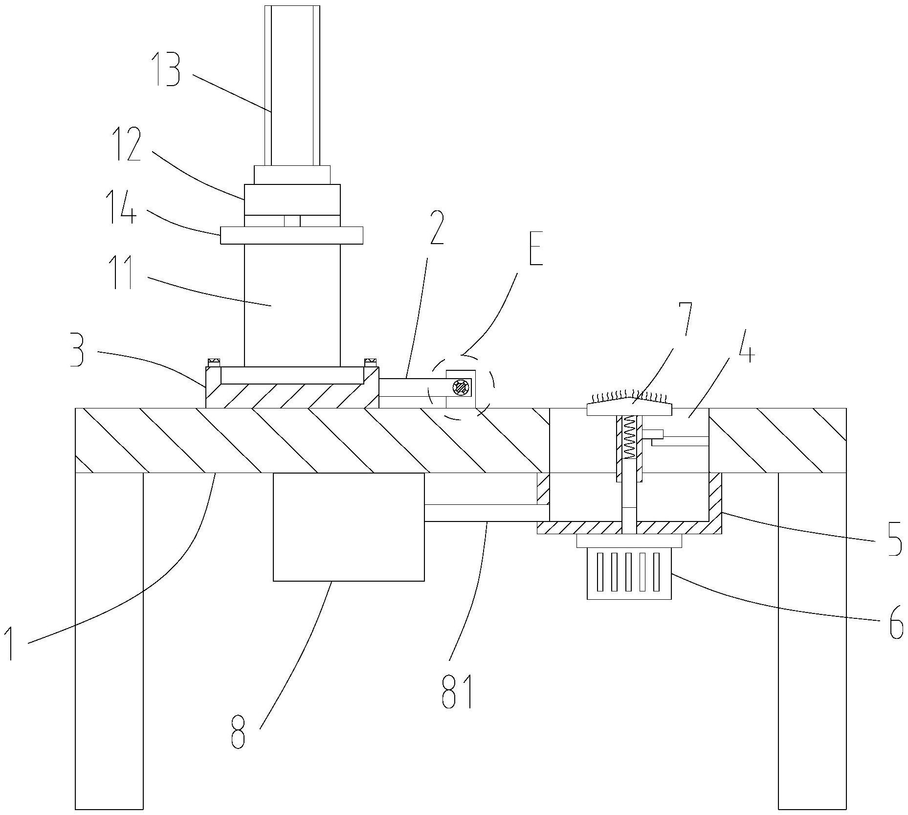
本实用新型公开了一种金属门窗冲压装置,包括工作台,所述工作台上侧固定连接立板,所述立板上端固定连接横板,所述横板固定连接液压缸,所述液压缸的伸缩杆下端固定连接冲压头,所述工作台上侧固定连接侧板,所述侧板一侧固定连接翻转电机,所述翻转电机的主轴端头固定连接摆动杆,所述摆动杆一端固定连接冲压模,所述工作台设有贯穿的通孔,所述通孔底部固定连接收集箱,所述收集箱的底部固定连接驱动电机,所述驱动电机的主轴端头设有清洁头,所述冲压模翻转能够到清洁头上方。本实用新型通过翻转电机使得冲压模翻转到清洁头上方,清洁头转动对冲压模的成型槽进行刷扫,倒置的冲压模,便于碎屑掉落清理。


