授权公布号:CN215408192U
一种新型金属门窗结构
有效
申请
2021-08-11
申请公布
1970-01-01
授权
2022-01-04
预估到期
2031-08-11
| 申请号 | CN202121865328.1 |
| 申请日 | 2021-08-11 |
| 授权公布号 | CN215408192U |
| 授权公告日 | 2022-01-04 |
| 分类号 | E06B3/46;E05F15/652;E05C17/60 |
| 分类 | 一般门、窗、百叶窗或卷辊遮帘;梯子; |
| 申请人名称 | 南阳市大鹏飞门业有限公司 |
| 申请人地址 | 河南省南阳市宛城区纬十路中段 |
专利法律状态
2022-01-04
授权
状态信息
授权
摘要
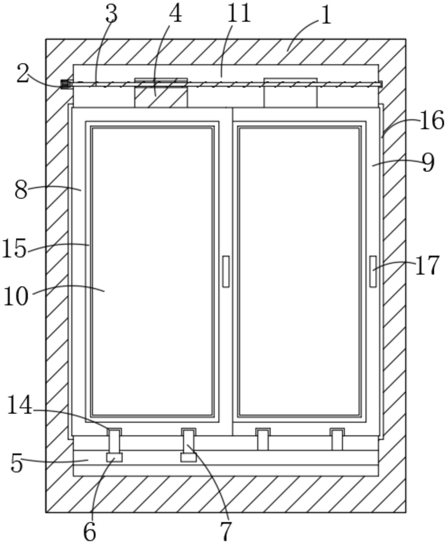
本实用新型公开了一种新型金属门窗结构,第一框体顶部固定安装有两组电机,两组电机的输出轴端均固定连接有一组螺杆,两组螺杆上均螺纹安装有一组滑动块,第一框体底部固定安装有四组齿条,相邻两组齿条之间均啮合设置有两组齿轮,齿轮顶部固定安装有连接杆,滑动块与连接杆之间分别固定安装有第二框体与第三框体,第二框体与第三框体内部均嵌装有玻璃板,第一凹槽两侧内壁分别开设有第二凹槽与第三凹槽,该装置通过两组电机分别带动一组转轴转动,从而实现对滑动块位置的改变,从而能够实现对门窗的推动,由于可以远距离控制,避免了人工的操作,从而能够防止危险的发生,同时能够提高门窗使用的灵活性。


