授权公布号:CN213913863U
一种新型气体收集装置
有效
申请
2020-10-27
申请公布
1970-01-01
授权
2021-08-10
预估到期
2030-10-27
| 申请号 | CN202022412180.8 |
| 申请日 | 2020-10-27 |
| 授权公布号 | CN213913863U |
| 授权公告日 | 2021-08-10 |
| 分类号 | B01L5/02;B01L9/00;B01L7/02;B01J19/24 |
| 分类 | 一般的物理或化学的方法或装置; |
| 申请人名称 | 合肥旭阳铝颜料有限公司 |
| 申请人地址 | 安徽省合肥市长丰双凤经济开发区金沪路 |
专利法律状态
2021-08-10
授权
状态信息
授权
摘要
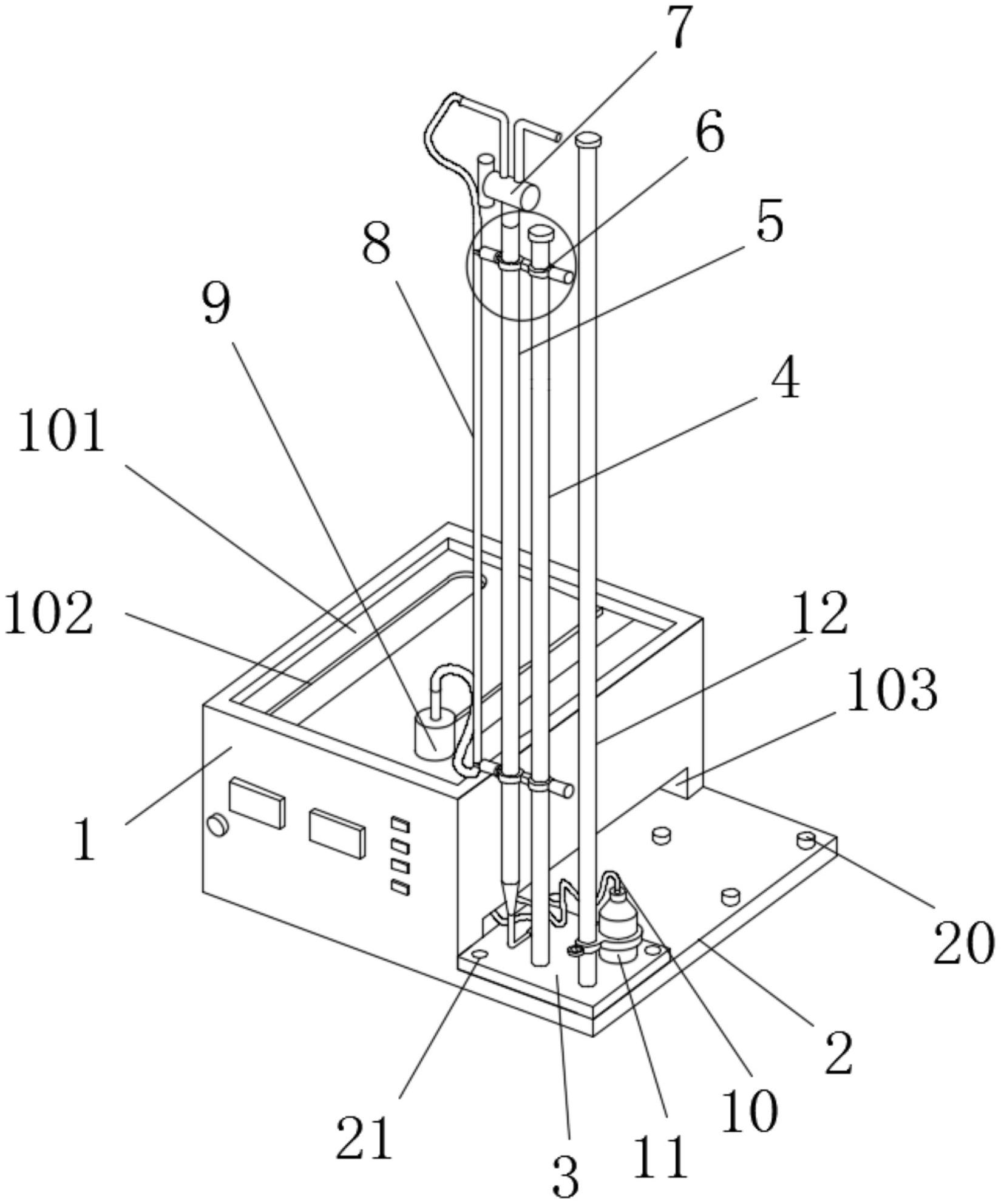
本实用新型涉及一种新型气体收集装置,属于化工试验用品技术领域,包括水浴装置、反应瓶、第一导管、双控玻璃塞、刻度管、第二导管和水准瓶,所述反应瓶位于水浴装置的水浴槽内,所述反应瓶通过第一导管连接双控玻璃塞的顶端其中一管道,所述双控玻璃塞的底端连接刻度管的上端,所述刻度管的底端通过第二导管连接至水准瓶,所述刻度管通过夹管机构固定在铁架台的架杆上,所述铁架台位于底座上端,所述底座与水浴装置的外表面一端一体连接;本实用新型相比较现有技术,在收集气体时,可以排除温度、水压因素的影响,保证收集气体数据的准确,测量误差小,而且装置制作简单,外观整洁,操作方便。


