授权公布号:CN114248322B
一种浸胶竹帘放帘、烘帘、收帘一体机
有效
申请
2021-11-10
申请公布
2022-03-29
授权
2024-01-23
预估到期
2041-11-10
| 申请号 | CN202111325827.6 |
| 申请日 | 2021-11-10 |
| 申请公布号 | CN114248322A |
| 申请公布日 | 2022-03-29 |
| 授权公布号 | CN114248322B |
| 授权公告日 | 2024-01-23 |
| 分类号 | B27K9/00;B27K5/04;B65G37/00;B65G35/00 |
| 分类 | 木材或类似材料的加工或保存;一般钉钉机或钉U形钉机; |
| 申请人名称 | 福建和其昌竹业股份有限公司 |
| 申请人地址 | 福建省三明市永安市曹远镇大兴工业区22号 |
专利法律状态
2024-01-23
授权
状态信息
授权
2022-04-15
实质审查的生效
状态信息
实质审查的生效;IPC(主分类):B27K9/00;申请日:20211110
2022-03-29
公布
状态信息
公布
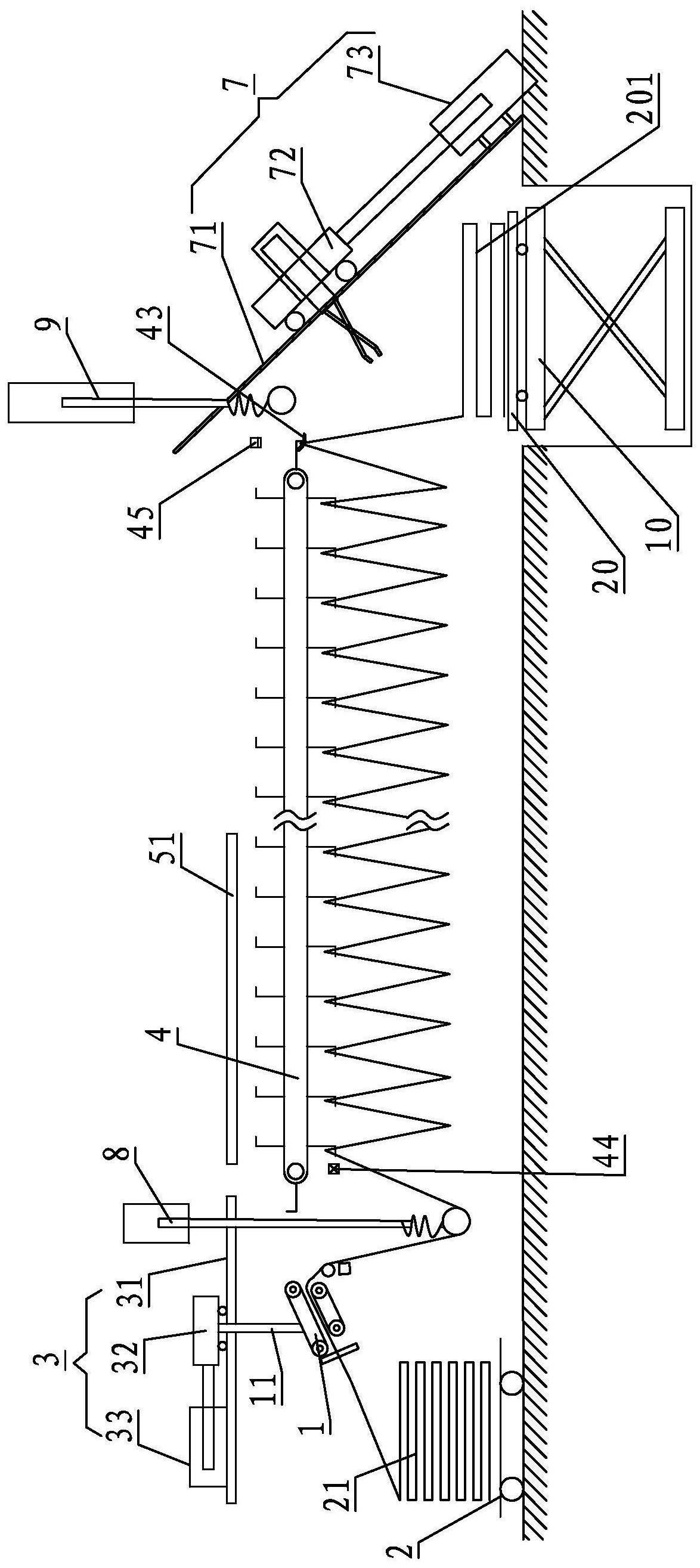
摘要
本发明提供一种浸胶竹帘放帘、烘帘、收帘一体机,包括:放帘装置,包括支架、上皮带运输机、下皮带运输机、挂帘托臂,上皮带运输机与下皮带运输机之间具有浸胶竹帘夹送通道,挂帘托臂具有挂帘对准空间;吊架链式运输机,包括吊钩,吊钩用于吊着浸胶竹帘;烘帘装置,用于烘干浸胶竹帘;收帘装置,包括夹具、控制机构、伸缩机构,夹具的固定端与伸缩机构的伸缩端固定连接,夹具的活动端与控制机构的控制端固定连接。本发明的优点在于:放帘装置夹送浸胶竹帘并将其挂在吊架链式运输机的吊钩上,浸胶竹帘经过烘干,收帘装置取走烘干后的竹帘,自动化生产,实现机器代工目的,降低浸胶竹帘的放帘收帘的工人劳动强度,提高生产效率。


