授权公布号:CN216661750U
一种浸胶二次干燥竹帘自动堆垛系统
有效
申请
2021-11-10
申请公布
1970-01-01
授权
2022-06-03
预估到期
2031-11-10
| 申请号 | CN202122746469.8 |
| 申请日 | 2021-11-10 |
| 授权公布号 | CN216661750U |
| 授权公告日 | 2022-06-03 |
| 分类号 | B65G57/00;B65G57/16 |
| 分类 | 输送;包装;贮存;搬运薄的或细丝状材料; |
| 申请人名称 | 福建和其昌竹业股份有限公司 |
| 申请人地址 | 福建省三明市永安市曹远镇大兴工业区22号 |
专利法律状态
2022-06-03
授权
状态信息
授权
摘要
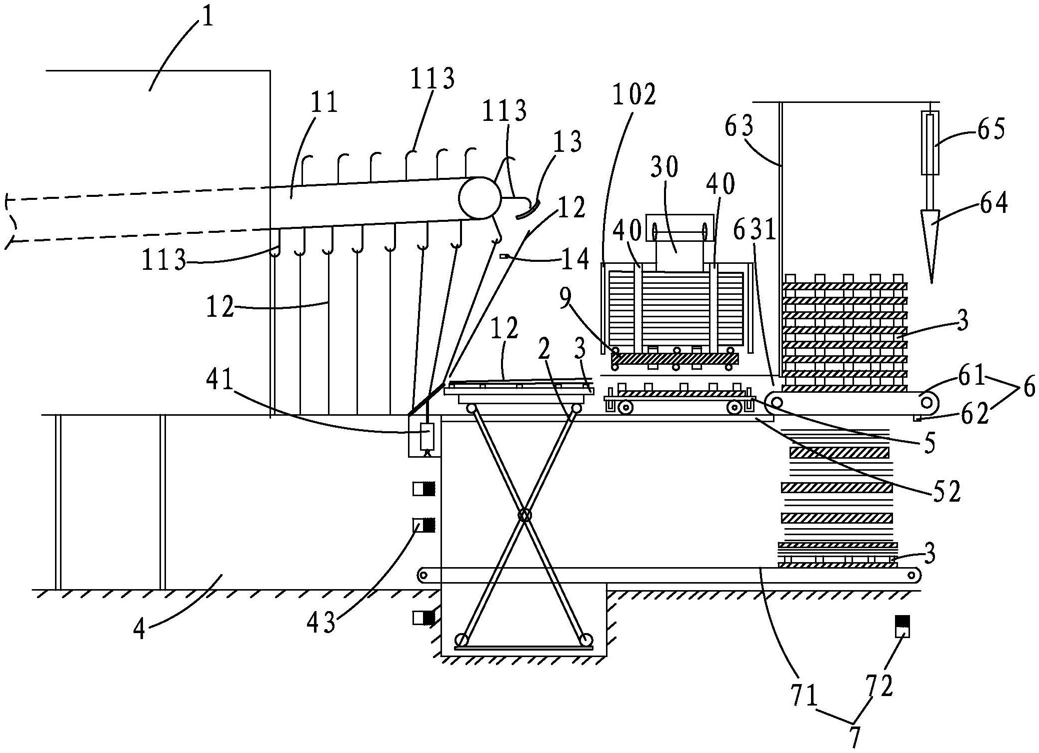
本实用新型提供一种浸胶二次干燥竹帘自动堆垛系统,包括:吊架链式运输机,包括吊钩,吊钩用于吊着浸胶二次干燥竹帘;脱帘横档,固设于吊架链式运输机的出口位置;第一升降机,位于脱帘横档的下方;竹帘堆垛架,能放置于第一升降机的顶部;支撑座,位于吊架链式运输机的下方;阻尼板控制装置,包括阻尼板与第一驱动气缸,第一驱动气缸的伸缩端与阻尼板的下侧面铰接,第一驱动气缸的缸体与支撑座铰接,阻尼板的一端与支撑座铰接。本实用新型的优点在于:吊钩上的浸胶二次干燥竹帘按顺序铺设在竹帘堆垛架上,实现自动化收帘铺放堆垛,减轻人工的劳动强度,减少不必要的材料搬迁和铺装转运工作,使员工只要检查收帘铺放的质量问题,提高生产效率。


