授权公布号:CN217581003U
一种新型全钢防静电地板
有效
申请
2021-12-07
申请公布
1970-01-01
授权
2022-10-14
预估到期
2031-12-07
| 申请号 | CN202123062140.6 |
| 申请日 | 2021-12-07 |
| 授权公布号 | CN217581003U |
| 授权公告日 | 2022-10-14 |
| 分类号 | E04F15/02;E04F15/18 |
| 分类 | 建筑物; |
| 申请人名称 | 常州市鼎辰机房设备有限公司 |
| 申请人地址 | 江苏省常州市武进区横林镇双蓉村 |
专利法律状态
2022-10-14
授权
状态信息
授权
摘要
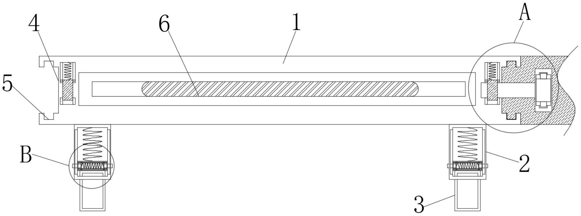
本实用新型涉及地板安装技术领域,且公开了一种新型全钢防静电地板,包括板体,板体底部设置有两组龙骨一,两组龙骨一内部设置有龙骨二,板体两侧开设有凹槽,凹槽内部上下两端开设有安装滑槽,板体一侧设置有水平仪,板体侧面内部设置有安装固定机构,龙骨一内部设置有调节机构。该新型全钢防静电地板,需要固定安装时,两块地板滑动安装后,手动将固定杆旋转,固定杆转动带动旋转块旋转,使得两组转轴在内嵌孔内部转动,将固定杆旋转至地板内部时,滑动固定滑板,会使得固定滑板带动两侧设置的滑块在固定滑槽内部滑动,从而将固定滑板固定于固定槽内部,实现了两块地板的固定,方便了地板的安装,提升了安装的效率。


