授权公布号:CN216517552U
窄框窗纱一体断桥的平开窗
有效
申请
2021-10-30
申请公布
1970-01-01
授权
2022-05-13
预估到期
2031-10-30
| 申请号 | CN202122632299.0 |
| 申请日 | 2021-10-30 |
| 授权公布号 | CN216517552U |
| 授权公告日 | 2022-05-13 |
| 分类号 | E06B3/36;E06B9/52;E06B7/23;E06B3/263;E05C17/12 |
| 分类 | 一般门、窗、百叶窗或卷辊遮帘;梯子; |
| 申请人名称 | 佛山市南海伊盾家居科技有限公司 |
| 申请人地址 | 广东省佛山市南海区里水镇麻奢工业区自编6号 |
专利法律状态
2022-05-13
授权
状态信息
授权
摘要
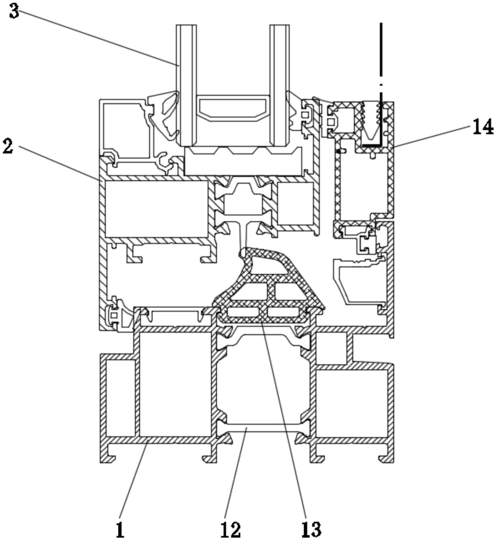
本实用新型涉及平开窗技术领域,且公开了窄框窗纱一体断桥的平开窗,包括窄窗框,窄窗框上铰接有内开的玻璃窗扇,且滑动连接有薄纱网扇,窄窗框内设置有尼龙隔热条,且与玻璃窗扇的配合处安装有密封胶条,玻璃扇窗内配合有中空玻璃,窄窗框和玻璃窗扇共同连接有锁定机构,锁定机构包括连接槽、转动块、转动杆、齿轮和齿条,连接槽开设在窄窗框的内侧,转动块固定连接在玻璃窗扇靠近连接槽的一侧,转动杆的两端通过轴承转动连接在连接槽的槽壁上,转动块固定连接在转动杆上。本实用新型可以将玻璃窗扇锁定在多个角度,使玻璃窗扇在打开后不会在气流推动下关闭,抗风能力强,不会增加转动阻力,开启和关闭玻璃窗扇较为省力。


