授权公布号:CN216950038U
窄面方压线的平开窗
有效
申请
2021-10-30
申请公布
1970-01-01
授权
2022-07-12
预估到期
2031-10-30
| 申请号 | CN202122632297.1 |
| 申请日 | 2021-10-30 |
| 授权公布号 | CN216950038U |
| 授权公告日 | 2022-07-12 |
| 分类号 | E06B3/36;E06B3/64;E06B3/58;E06B3/62;E06B7/14;E06B7/23;E06B3/263 |
| 分类 | 一般门、窗、百叶窗或卷辊遮帘;梯子; |
| 申请人名称 | 佛山市南海伊盾家居科技有限公司 |
| 申请人地址 | 广东省佛山市南海区里水镇麻奢工业区自编6号 |
专利法律状态
2022-07-12
授权
状态信息
授权
摘要
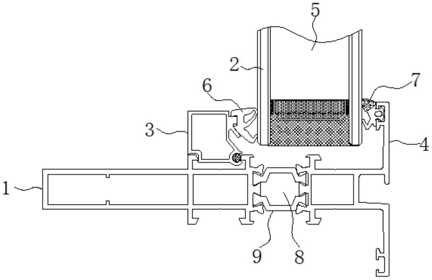
本实用新型涉及平开窗技术领域,且公开了窄面方压线的平开窗,包括窄面窗框和玻璃扇,窄面窗框上设有用于安装玻璃扇的内压线和外压线,且内压线和外压线为窄面方形结构设置,玻璃扇内固定安装有匹配的中空玻璃;玻璃扇与内压线的连接处安装有匹配的内密封胶条,玻璃扇与外压线的连接处安装有匹配的外密封胶条。本实用新型使得平开窗的可视面更窄,不易遮挡视线,同时还具备优秀的防水性能。


